EasyManua.ls Logo

Sony CDX-CA900 - Page 37

Sony CDX-CA900
64 pages
Print Icon
To Next Page IconTo Next Page
To Next Page IconTo Next Page
To Previous Page IconTo Previous Page
To Previous Page IconTo Previous Page
Loading...
5
a

b
;<=>?@ABCD@EAFGH
A
c Z
IJ )IÛTKTU
02
d
K
e
! 12
f
 )IÛTKTU07
g
4 56
h
 
 


(OFF)


ÜÝ7Y89Þßàáâãäåæyç

èé
(OFF)
èêlëYìíyÎ
Ãîèï
(SOURCE)
èê×'
6+ðñÜÝòó:;<=>?×D
E<>F?ÑôØÙ

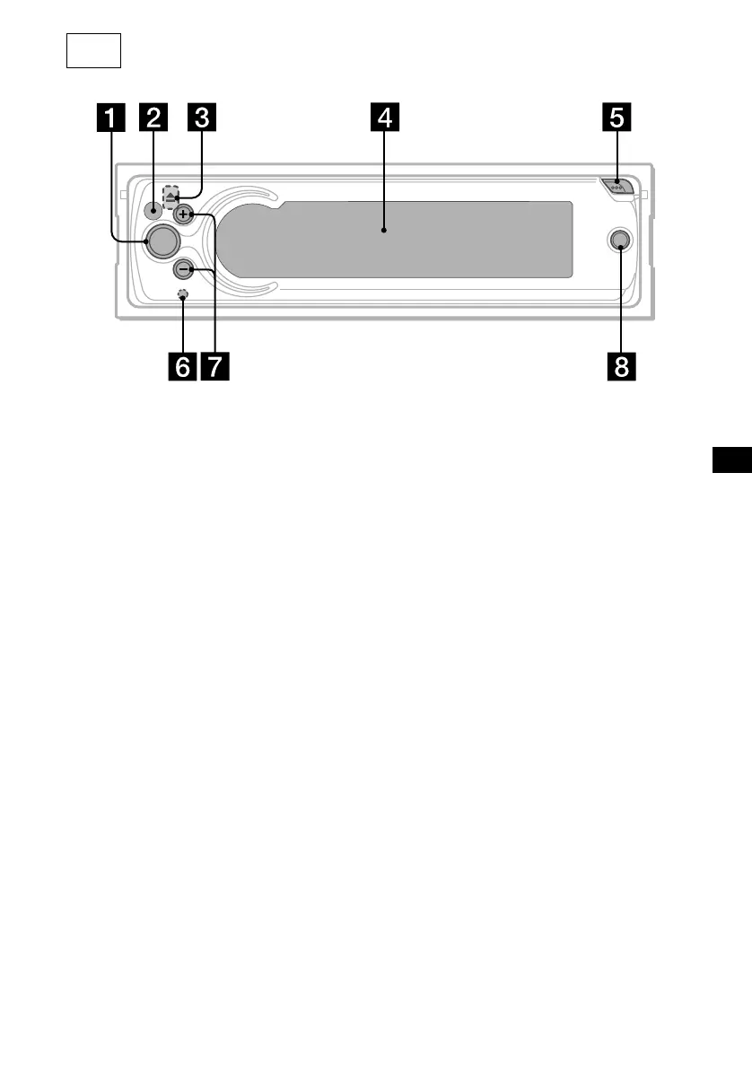
CDX-CA900
OFF
VOL
SOURCE

Other manuals for Sony CDX-CA900

Related product manuals