EasyManua.ls Logo

Sony CDX-S2200 - Abnehmen der Frontplatte

Sony CDX-S2200
134 pages
Print Icon
To Next Page IconTo Next Page
To Next Page IconTo Next Page
To Previous Page IconTo Previous Page
To Previous Page IconTo Previous Page
Loading...
10
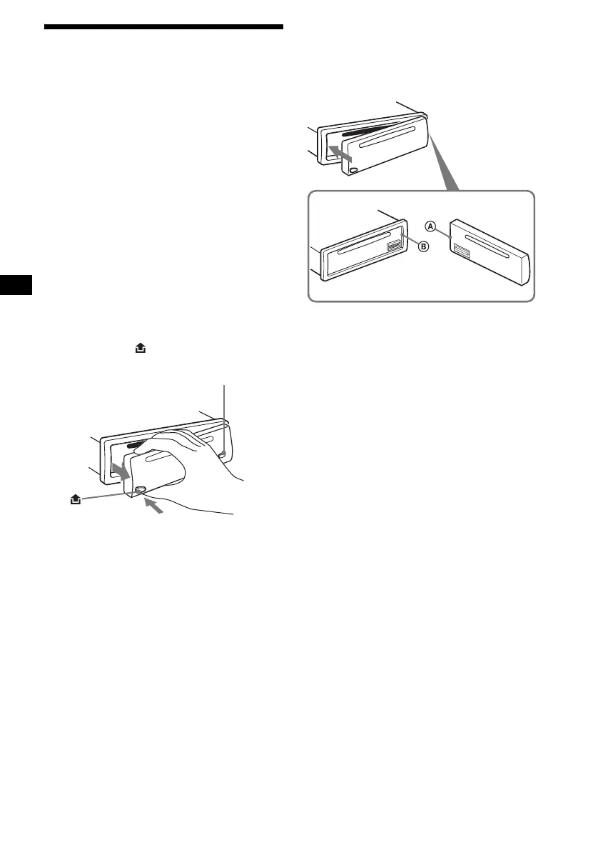
Abnehmen der Frontplatte
Um einem Diebstahl des Geräts vorzubeugen,
kann die Frontplatte abgenommen werden.
Warnton
Wenn Sie den Zündschlüssel in die Position OFF
stellen, ohne die Frontplatte abzunehmen, ertönt
einige Sekunden lang ein Warnton.
Wenn Sie einen gesondert erhältlichen Verstärker
anschließen und den integrierten Verstärker nicht
benutzen, wird der Signalton deaktiviert.
1 Drücken Sie (OFF)*.
Die CD-Wiedergabe bzw. der Radioempfang
wird beendet. Die Tastenbeleuchtung und das
Display bleiben eingeschaltet.
* Wenn Ihr Fahrzeug nicht über ein Zündschloss
mit Zubehörposition (ACC oder I) verfügt, halten
Sie zum Ausschalten des Geräts unbedingt
(OFF) gedrückt, bis die Anzeige ausgeblendet
wird. Andernfalls wird der Autobatterie weiterhin
Strom entzogen.
2 Drücken Sie und ziehen Sie die
Frontplatte auf sich zu und heraus.
Hinweise
Wenn Sie die Frontplatte bei eingeschaltetem Gerät
abnehmen, schaltet sich das Gerät automatisch aus,
um eine Beschädigung der Lautsprecher zu
vermeiden.
Lassen Sie die Frontplatte nicht fallen und drücken
Sie nicht zu stark auf die Frontplatte und das
Display.
Schützen Sie die Frontplatte vor Hitze bzw. hohen
Temperaturen und vor Feuchtigkeit. Lassen Sie sie
nicht in geparkten Autos, auf dem Armaturenbrett
oder auf der Hutablage liegen.
Tipp
Bewahren Sie die Frontplatte im mitgelieferten
Behälter auf, wenn Sie sie bei sich tragen.
Anbringen der Frontplatte
Setzen Sie Teil A der Frontplatte wie abgebildet
an Teil B am Gerät an und drücken Sie dann die
linke Seite hinein, bis sie mit einen Klicken
einrastet.
Hinweis
Legen Sie auf der Innenseite der Frontplatte nichts ab.
(OFF)

Table of Contents

Related product manuals