EasyManua.ls Logo

Sony CFD-30 - Optical Pick-Up Block

Sony CFD-30
29 pages
Print Icon
To Next Page IconTo Next Page
To Next Page IconTo Next Page
To Previous Page IconTo Previous Page
To Previous Page IconTo Previous Page
Loading...
CFD-20/30
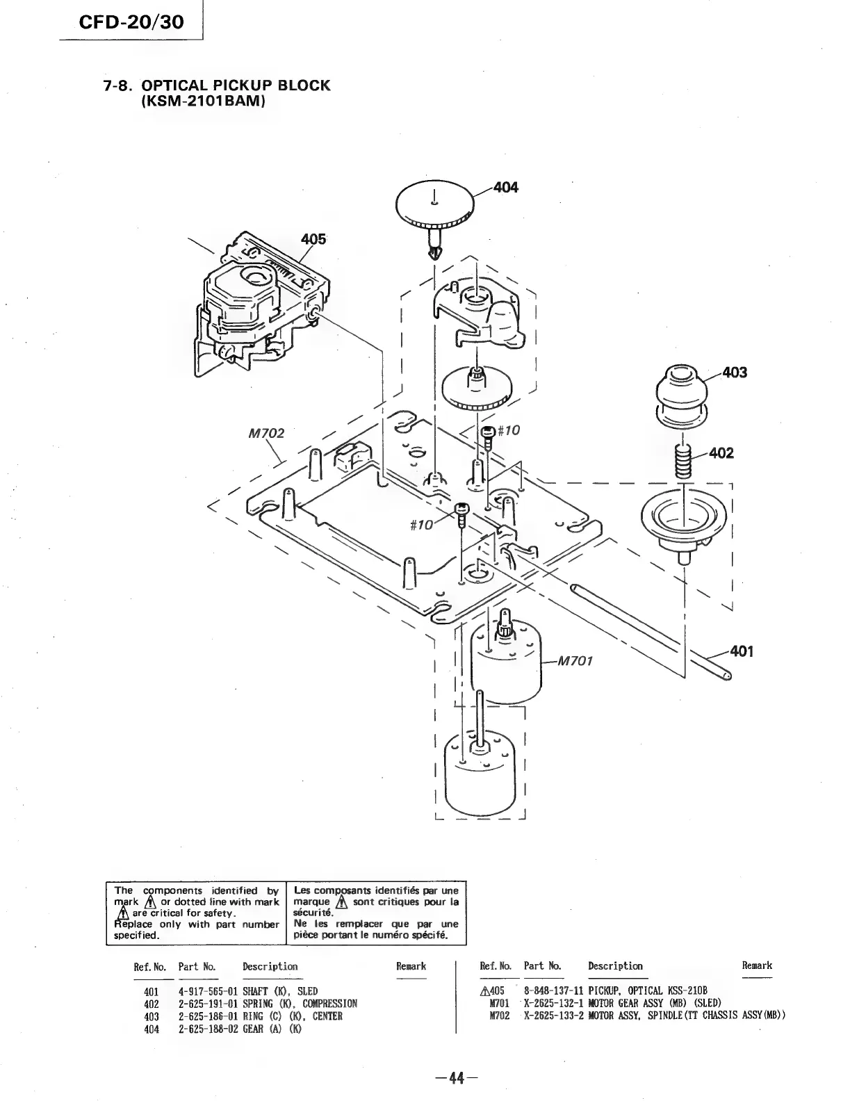
7-8.
OPTICAL
PICKUP
BLOCK
(KSM-2101BAM)
The
components
identified
by
mark
or
dotted
line
with
mark
are
critical
for
safety.
eplace
only
with
part
number
specified.
marque
sécurité.
Ne
les
remplacer
que
par
une
piéce
portant
le
numéro
spécifé.
Ref.
No.
Part
No.
Description
401
4-917-565-01
SHAFT
(K),
SLED
402
2-625-191-01
SPRING
(K),
COMPRESSION
403
2-625-186-01
RING
(C)
(K),
CENTER
404
2-625-188-02
GEAR
(A)
(K)
Les
composants
identifiés
par
une
sont
critiques
pour
la
Remark
Ref.
No.
Part
No.
Description
Remark
A405
=
8-848-
137-11
PICKUP,
OPTICAL
KSS-210B
M701
~~
X-2625-132-1
MOTOR
GEAR
ASSY
(MB)
(SLED)
M702
|
X-2625-133-2
MOTOR
ASSY,
SPINDLE(TT
CHASSIS
ASSY
(MB)
)

Related product manuals