EasyManua.ls Logo

Sony CX115E - Page 52

Sony CX115E
76 pages
Print Icon
To Next Page IconTo Next Page
To Next Page IconTo Next Page
To Previous Page IconTo Previous Page
To Previous Page IconTo Previous Page
Loading...
52
GB
* HDR-CX110E/CX115E/CX116E/CX150E/
CX155E
** HDR-XR150E/XR155E
Insert the recording media in the
recording device.
If your recording device has an input
selector, set it to the input mode.
Disconnect the USB cable.
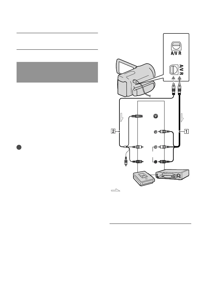
Creating a standard definition
image quality (STD) disc with a
recorder, etc.
You can dub images played back on your
camcorder on a disc or video cassette,
by connecting your camcorder to a disc
recorder, a Sony DVD writer, etc., other
than DVDirect Express, with the A/V
connecting cable. Connect the device in
either way of or . Refer also to the
instruction manuals supplied with the
devices to be connected.
Notes
Connect your camcorder to the wall outlet (wall
socket) using the supplied AC Adaptor for this
o
peration (p. 13).
Sony DVD writer may not be available in some
countries/regions.
High definition image quality (HD) movies
will be dubbed with standard definition image
quality (STD).
A/V connecting cable (supplied)
Connect the A/V connecting cable to the
input jack of another device.
A/V connecting cable with S VIDEO
(sold separately)
When connecting to another device
via the S VIDEO jack, by using an A/V
connecting cable with an S VIDEO cable
(sold separately), higher quality images can
be produced than with an A/V connecting
cable. Connect the white and red plug
(left/right audio) and the S VIDEO plug
(S VIDEO channel) of the A/V connecting
cable with an S VIDEO cable. If you
connect the S VIDEO plug only, you will
hear no sound. The yellow plug (video)
connection is not necessary.
A/V Remote Connector
Signal flow
S VIDEO
VIDEO
(Yellow)
(White)
AUDIO
(Red)
Input
(Yellow)
*
**

Table of Contents

Related product manuals