EasyManua.ls Logo

Sony DXC-327 - Page 93

Sony DXC-327
112 pages
Print Icon
To Next Page IconTo Next Page
To Next Page IconTo Next Page
To Previous Page IconTo Previous Page
To Previous Page IconTo Previous Page
Loading...
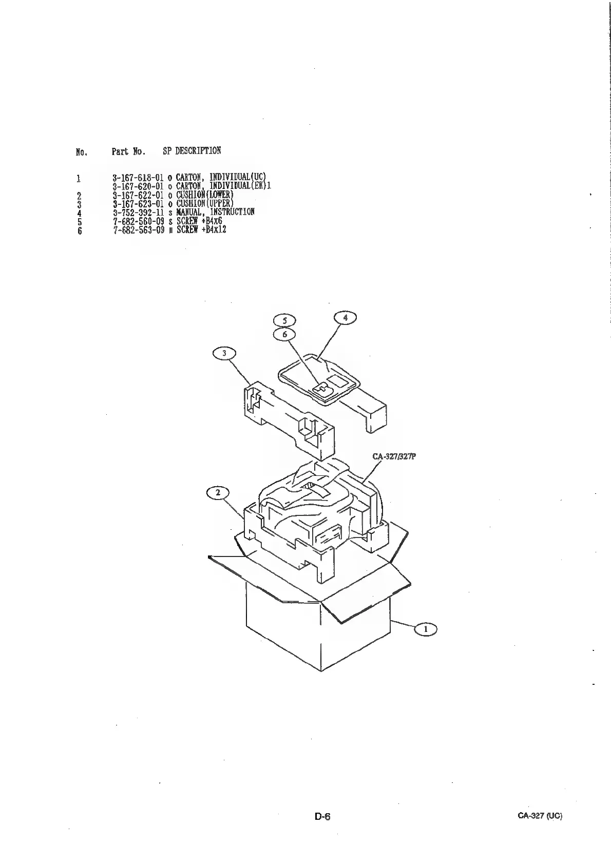
No.
mone
Part
No.
SP
DESCRIPTION
3-167-618-01
0
CARTON,
INDIVIDUAL(UC
3-167-620-01
0
CARTON,
INDIVIDUAL(EK)1
3-167-622-01
0
ASH
LOFER
3-167-623-01
0
CUSHION
(UPPER
3-752-392-L1
s
MANUAL,
INSTRUCTION
7-682-560-09
s
SCREW
+B4x6
7-682-563-09
s
SCREW
+B4x12
RN
D-6
CA-327/327P
CA-327
(UC)

Related product manuals