EasyManua.ls Logo

Sony F5121 - Assembly and Screen Protection

Sony F5121
110 pages
Print Icon
To Next Page IconTo Next Page
To Next Page IconTo Next Page
To Previous Page IconTo Previous Page
To Previous Page IconTo Previous Page
Loading...
1. Headset jack
2. NFC™ detection area
3. Front camera lens
4. Ear speaker
5. Charging/Notification light
6. Proximity/Light sensor
7. Power key/Fingerprint sensor
8. Volume/Zoom key
9. Camera key
10. Main loudspeaker
11. Charger/USB cable port
12. Main microphone
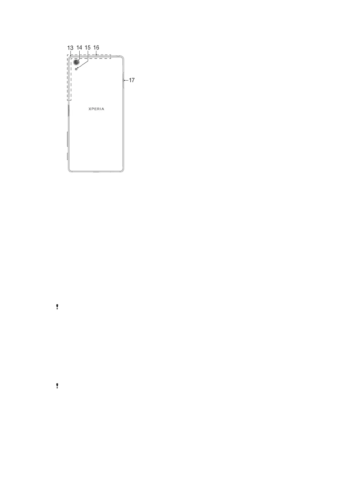
13. Wi-Fi /Bluetooth®/ GPS antenna
14. Main camera lens
15. Main camera light
16. Second microphone
17. Nano SIM/Memory card slot cover
Fingerprint functionality is not available in the US market.
Assembly – Single SIM
Your device only supports nano SIM cards. Single SIM devices allow you to use one
SIM card and a memory card.
The nano SIM card and the memory card have separate slots. Make sure you don’t
confuse the two.
For information on how to check if your device is Single SIM or Dual SIM, see
Finding the IMEI number(s) of your device
on page 15.
To prevent data loss, make sure you turn
o your device or unmount the memory card
before you drag out the holder to remove the nano SIM card or memory card from the
device.
7
This is an internet version of this publication. © Print only for private use.

Table of Contents

Related product manuals