EasyManua.ls Logo

Sony HCD-W550 - Page 9

Sony HCD-W550
31 pages
Print Icon
To Next Page IconTo Next Page
To Next Page IconTo Next Page
To Previous Page IconTo Previous Page
To Previous Page IconTo Previous Page
Loading...
— 9 —
CD SECTION
Note :
1. CD Block is basically designed to operate without adjustment.
Therefore, check each item in order given.
2. Use YEDS-18 disc (3-702-101-01) unless otherwise indicated.
3. Use an oscilloscope with more than 10M impedance.
4. Clean the object lens by an applicator with neutral detergent
when the signal level is low than specified value with the
following checks.
Focus Bias check
Procedure:
1. Connect oscilloscope to test point TP (RF). (GND terminal :
VC)
2. Turned Power switch on.
3. Put disc (YEDS-18) in and playback.
4. Confirm that the shape “ ” can be clearly distinguished at the
center of the waveform and check the RF signal level.
• RF signal
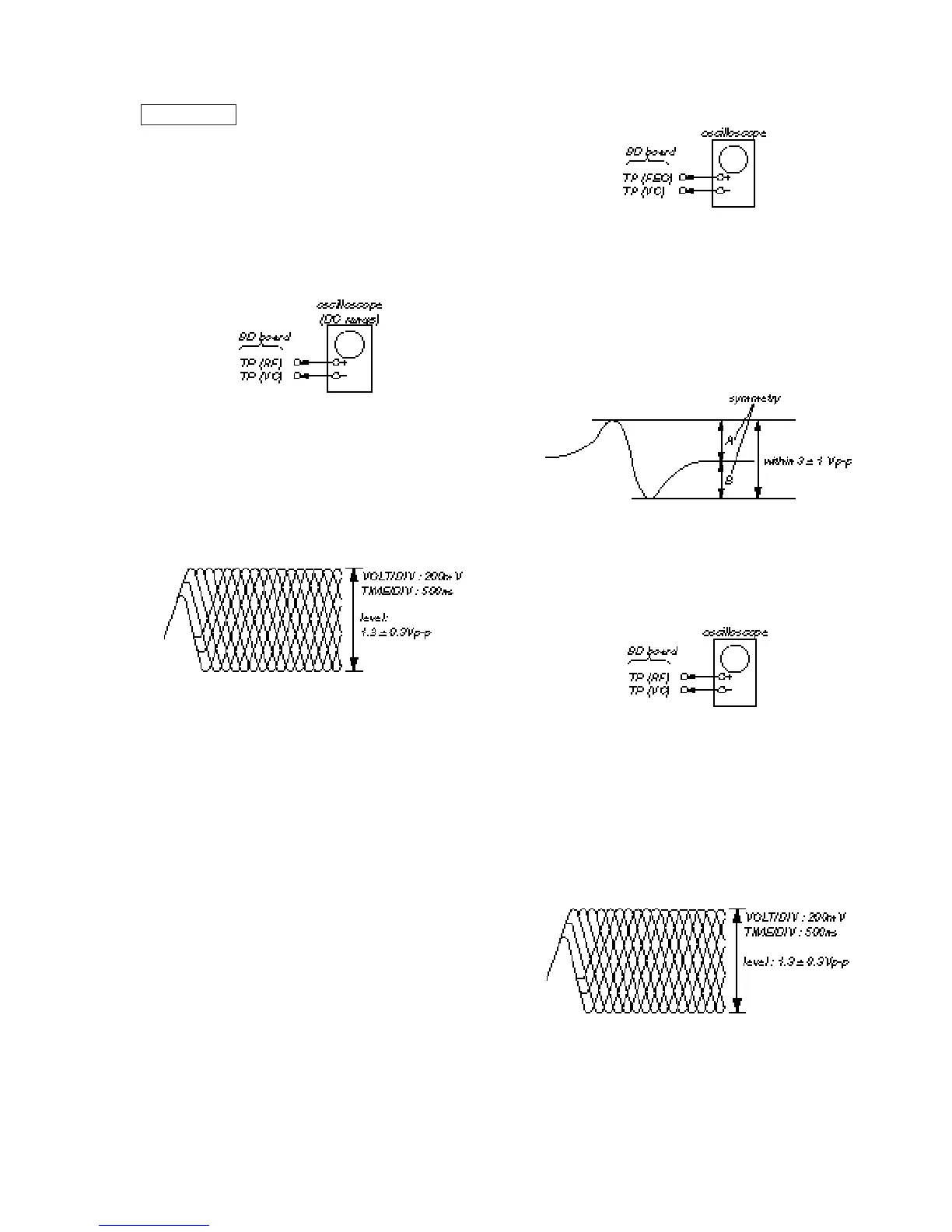
S Curve Check
Procedure:
1. Connect oscilloscope to test point TP (FEO).
2. Connect between test point TP (FOK) and GND by lead wire.
3. Turn Power switch on.
4. Put disc (YEDS-18) in and turned Power switch on again and
actuate the focus search. (actuate the focus search when disc
table is moving in and out.)
5. Check the oscilloscope waveform (S-curve) is symmetrical
between A and B. And confirm peak to peak level within 3±1
Vp-p.
S-curve waveform
6. After check, remove the lead wire connected in step 2.
Note: Try to measure several times to make sure than the ratio of
A : B or B : A is more than 10 : 7.
Take sweep time as long as possible and light up the
brightness to obtain best waveform.
RF Level Check
Procedure:
1. Connect oscilloscope to test point TP (RF) on BD board.
2. Turned Power switch on.
3. Put disc (YEDS-18) in and playback.
4. Confirm that oscilloscope waveform is clear and check RF
signal level is correct or not.
Note:
Clear RF signal waveform means that the shape “ ” can be
clearly distinguished at the center of the waveform.
• RF signal

Related product manuals