EasyManua.ls Logo

Sony ICF-111B - Page 3

Sony ICF-111B
15 pages
Print Icon
To Next Page IconTo Next Page
To Next Page IconTo Next Page
To Previous Page IconTo Previous Page
To Previous Page IconTo Previous Page
Loading...
ICF-111B
foresee
cero
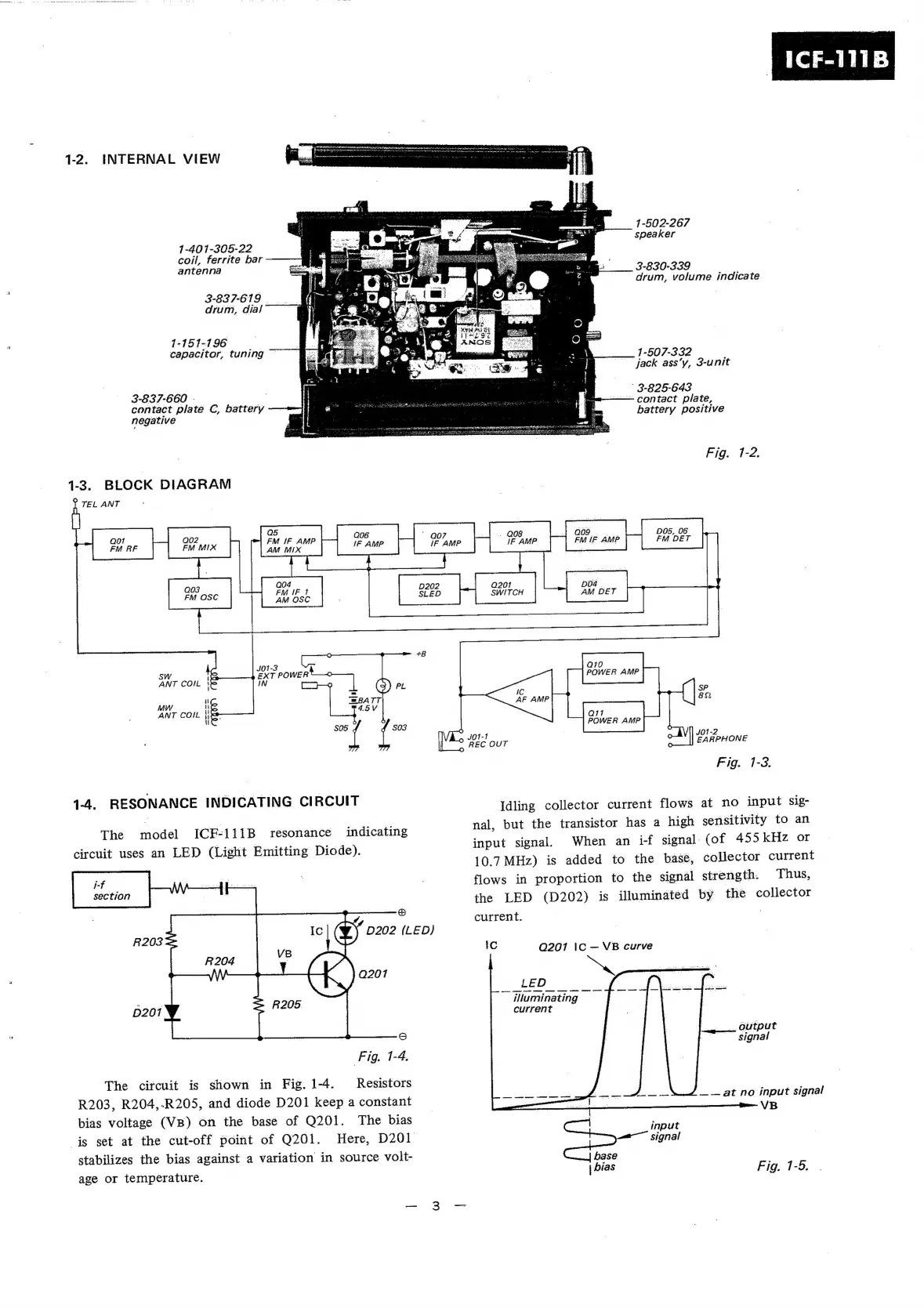
1-2.
INTERNAL
VIEW
<_<
171-502-267
speaker
1-4017-305-22
coil,
ferrite
bar
antenna
3-830-339
drum,
volume
indicate
3-837-619
©
drum,
dial
1-151-196
capacitor,
tuning
1-507-332
jack
ass’y,
3-unit
-837-
'
3-825-643
conteet
platé
@,
battery
~
contact
plate,
negative
battery
positive
Fig.
1-2.
1-3.
BLOCK
DIAGRAM
t
TEL
ANT
DO5,
06
FM
DET
Q09.
FM
IF
AMP
Q70
POWER
AMP
sw
Re
ANT
COIL
a
SP
MW
ie
Ew
ae
ANT
COIL
{||
POWER
AMP
}
!
Lo
ro
our
|
°
|
ohorowe
Fig.
1-3.
ae
RESONANCES
INDICATING
CIRCUIT
Idling
collector
current
flows
at
no
input
sig-
nal,
but
the
transistor
has
a
high
sensitivity
to
an
input
signal.
When
an
i-f
signal
(of
455
kHz
or
10.7
MHz)
is
added
to
the
base,
collector
current
flows
in
proportion
to
the
signal
strength.
Thus,
the
LED
(D202)
is
illuminated
by
the
collector
current.
The
model
ICF-111B
resonance
indicating
circuit
uses
an
LED
(Light
Emitting
Diode).
i-f
section
(¥)
D202
(LED)
IC
Q207
|IC
VB
curve
iluminating
current
B201
|
=.
Output
signal
Fig.
1-4.
The
circuit
is
shown
in
Fig.
1-4.
Resistors
_.at
no
input
signal
R203,
R204,.R205,
and
diode
D201
keepaconstant
=
$$[Loooo——=
Ve
bias
voltage
(VB)
on
the
base
of
Q201.
The
bias
js
set
at
the
cut-off
point
of
Q201.
Here,
D201
a
stabilizes
the
bias
against
a
variation
in
source
volt-
base
|
bias
Fig.
1-5.
age
or
temperature.

Related product manuals