EasyManua.ls Logo

Sony M-450 - Cabinet (Front); Main Board, Mechanism Deck

Sony M-450
18 pages
Print Icon
To Next Page IconTo Next Page
To Next Page IconTo Next Page
To Previous Page IconTo Previous Page
To Previous Page IconTo Previous Page
Loading...
5
M-450/455
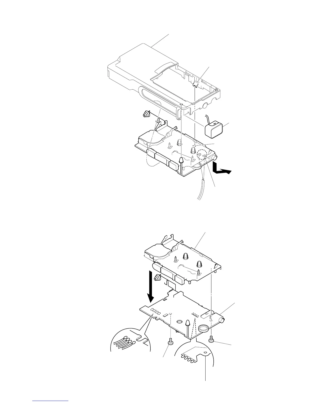
2-3. CABINET (FRONT)
2-4. MAIN BOARD, MECHANISM DECK
Main board
Mechanism deck
1
Scre
w
3
Remove solder
(four places).
1
Screw
2
Remove solder
(four places)
4
Head flexible board
z
NOTE DURING ASSEMBLY
Align S902 and knob (tape speed).
Knob (tape speed)
Cabinet (front)
2
Mic case
1
Remove solder
(two places)
To speaker
3
S902

Other manuals for Sony M-450

Related product manuals