EasyManua.ls Logo

Sony MHC-V41D - Remote Control Functions

Sony MHC-V41D
88 pages
Print Icon
To Next Page IconTo Next Page
To Next Page IconTo Next Page
To Previous Page IconTo Previous Page
To Previous Page IconTo Previous Page
Loading...
MHC-V41D.GB.4-729-484-13(1)
16
GB
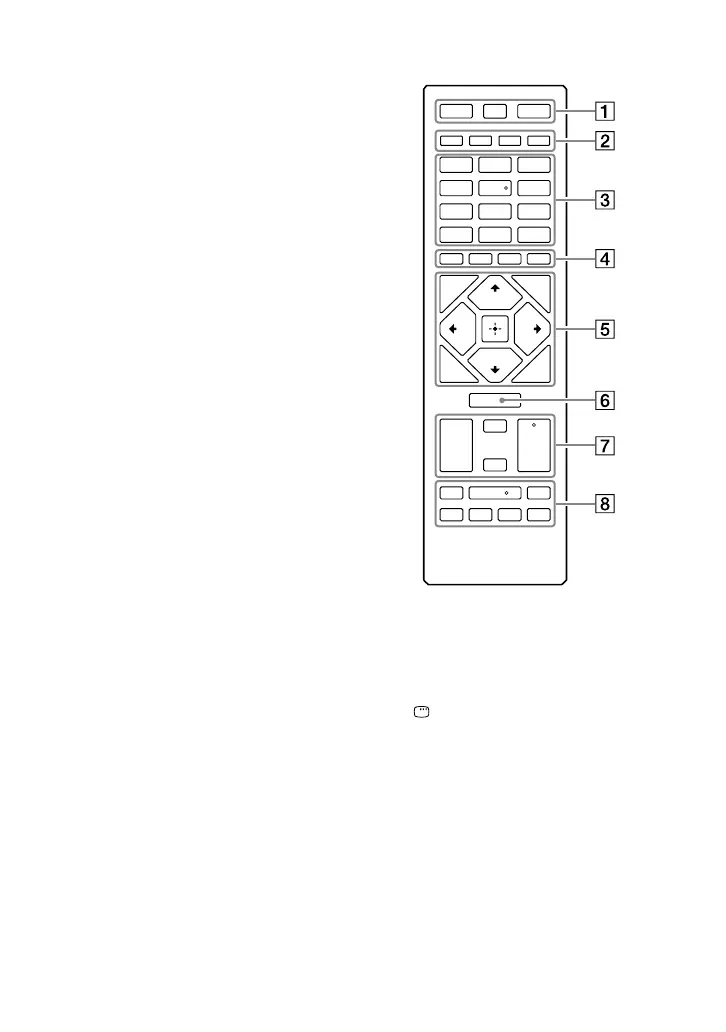
(open/close) button
Press to open or close the disc
tray.
/ (go backward/go
forward) button
Press to select a track or file.
TUNING +/– button
(page39)
PLAYBACK button
(page48)
DJ button (page49)
SAMPLER button (page49)
KARAOKE button (page50)
Remote control:
DISPLAY button (page 20,
24, 32, 39, 41)
Press to change the information
on the display.
DISPLAY* button
(page31)
Press to view or hide the on-
screen display.
SLEEP button (page 66)
(power) button
Press to turn on the system, or
sets it to the standby mode.

Table of Contents

Other manuals for Sony MHC-V41D

Related product manuals