EasyManua.ls Logo

Sony PVM-2030 - CONTROL S Connection

Sony PVM-2030
18 pages
Print Icon
To Next Page IconTo Next Page
To Next Page IconTo Next Page
To Previous Page IconTo Previous Page
To Previous Page IconTo Previous Page
Loading...
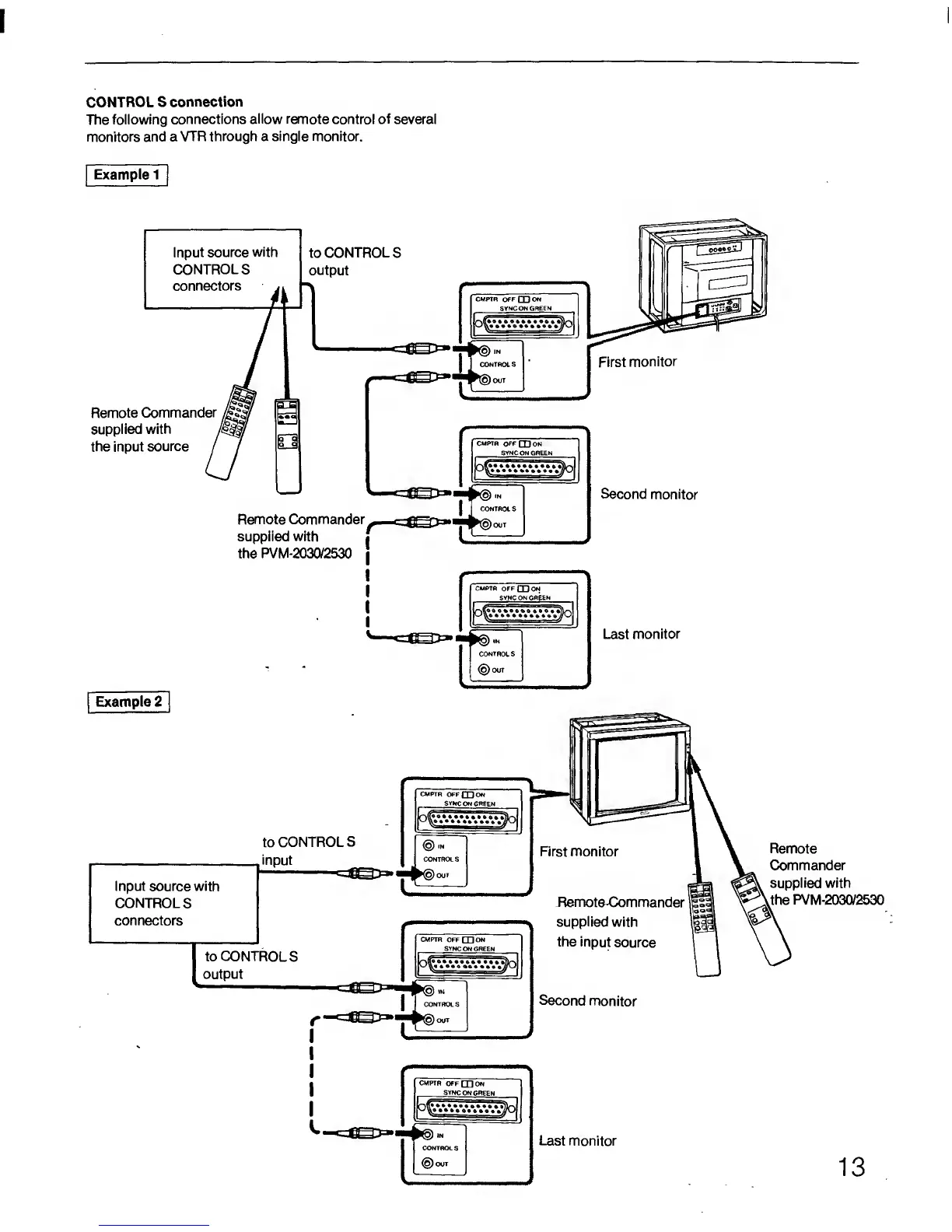
CONTROL
S
connection
The
following
connections
allow
remote control
of
several
monitors
and a
VTR through a single monitor.
Input source
with
CONTROLS
connectors
j,
to
CONTROLS
output
Remote Commander
supplied
with m
the input
source
/
Remote Commander
suppiied with
the PVM-2030/2530
j
CMPTR OFf
CD
ON
SYNC
ON GREEN
Second
monitor
f
CMPTft
OFF ON
SYNC ON GREEN
Last
monitor
CMPTR
OFF
m
ON
SYNCONGH6EN
to
CONTROLS
.input
Input source with
CONTROLS
connectors
to CONTROLS
output
CMPTB
OFF
CD
ON
SYNCONGR£€N
First
monitor
Remote-Commander
1
supplied with
the input
source
Second
monitor
Remote
Commander
supplied with
,the
PVM-2030/2530
CMPTR
OFF
Q]
ON
SYNC
ON GREEN
Last
monitor

Related product manuals