EasyManua.ls Logo

Sony PWS-110PR1 - Nomenclature; Vue de Face; Vue de Face (Panneau Retiré)

Sony PWS-110PR1
Print Icon
To Next Page IconTo Next Page
To Next Page IconTo Next Page
To Previous Page IconTo Previous Page
To Previous Page IconTo Previous Page
Loading...
20
Nomenclature
Nomenclature
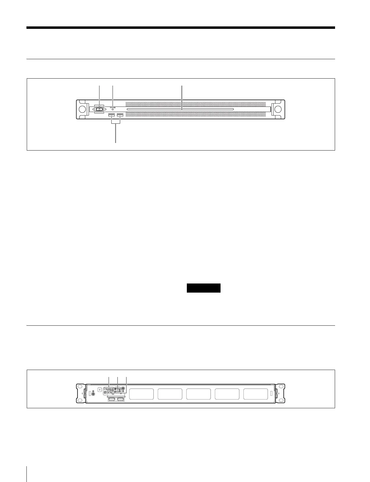
Vue de face
a Touche on/attente et indicateur
Met l’appareil sous/hors tension (mode d’attente). La
connexion du cordon d’alimentation met l’appareil en
attente, l’indicateur s’allume, ensuite, en rouge. Appuyez
sur la touche on/attente en mode d’attente pour mettre
l’appareil en marche, l’indicateur s’allume, ensuite, en
vert. Appuyez et maintenez la touche on/attente enfoncée
pendant deux secondes pour mettre l’appareil en mode
d’attente, l’indicateur s’allume, ensuite, en rouge. Pour
remettre l’appareil sous tension après l’avoir fait passer du
mode marche au mode d’attente, lorsque l’indicateur est
allumé en rouge, appuyez et maintenez la touche on/attente
enfoncée pendant trois secondes ou plus. L’indicateur
s’éteint lorsque le cordon d’alimentation est débranché.
b Indicateur SYSTEM
Indique l’état de l’appareil.
Vert : Fonctionne normalement
Clignote en vert (une fois par seconde) : Le système est
en cours de démarrage ou en cours de mise en attente.
Clignote en orange (une fois par seconde) : Un
avertissement a été généré.
Clignote rapidement en rouge (quatre fois par
seconde) : Une erreur s’est produite.
c DEL panneau avant
S’allume en fonction des réglages dans l’application du
web. La DEL est configurée en utilisant [001: LINE LED]
dans la page [Settings] de l’écran Maintenance.
d Connecteurs USB (panneau avant)
Se connecte à un cliavier et une souris pour initialiser
l’appareil.
Les dispositifs USB non décrits dans ce document ne sont
pas pris en charge.
Les deux ports USB sur le panneau avant prennent en charge
l’alimentation fournie (900 mA).
Utilisez les câbles USB SuperSpeed.
Vue de face (Panneau retiré)
Lorsque l’indicateur SYSTEM ou l’application du web
indique une erreur, vous pouvez retirer le panneau avant
pour vérifier l’état des composants du progiciel.
Pour retirer le panneau avant, dévissez les vis des côtés
gauche et droit et tirez le panneau vers vous.
a Indicateurs FAN
Si l’un des ventilateurs tombe en panne, l’indicateur de
ventilateur correspondant s’allume en rouge.
b Indicateurs POWER
Si l’une des alimentations CA tombe en panne, l’indicateur
correspondant s’allume en rouge.
12 3
4
Remarques
123

Table of Contents