EasyManua.ls Logo

Sony SDM-HS73 - Adjusting Backlight (RETROILUMIN); Adjusting Contrast (CONTRASTE); Adjusting Black Level (BRILLO)

Sony SDM-HS73
21 pages
Print Icon
To Next Page IconTo Next Page
To Next Page IconTo Next Page
To Previous Page IconTo Previous Page
To Previous Page IconTo Previous Page
Loading...
11
ES
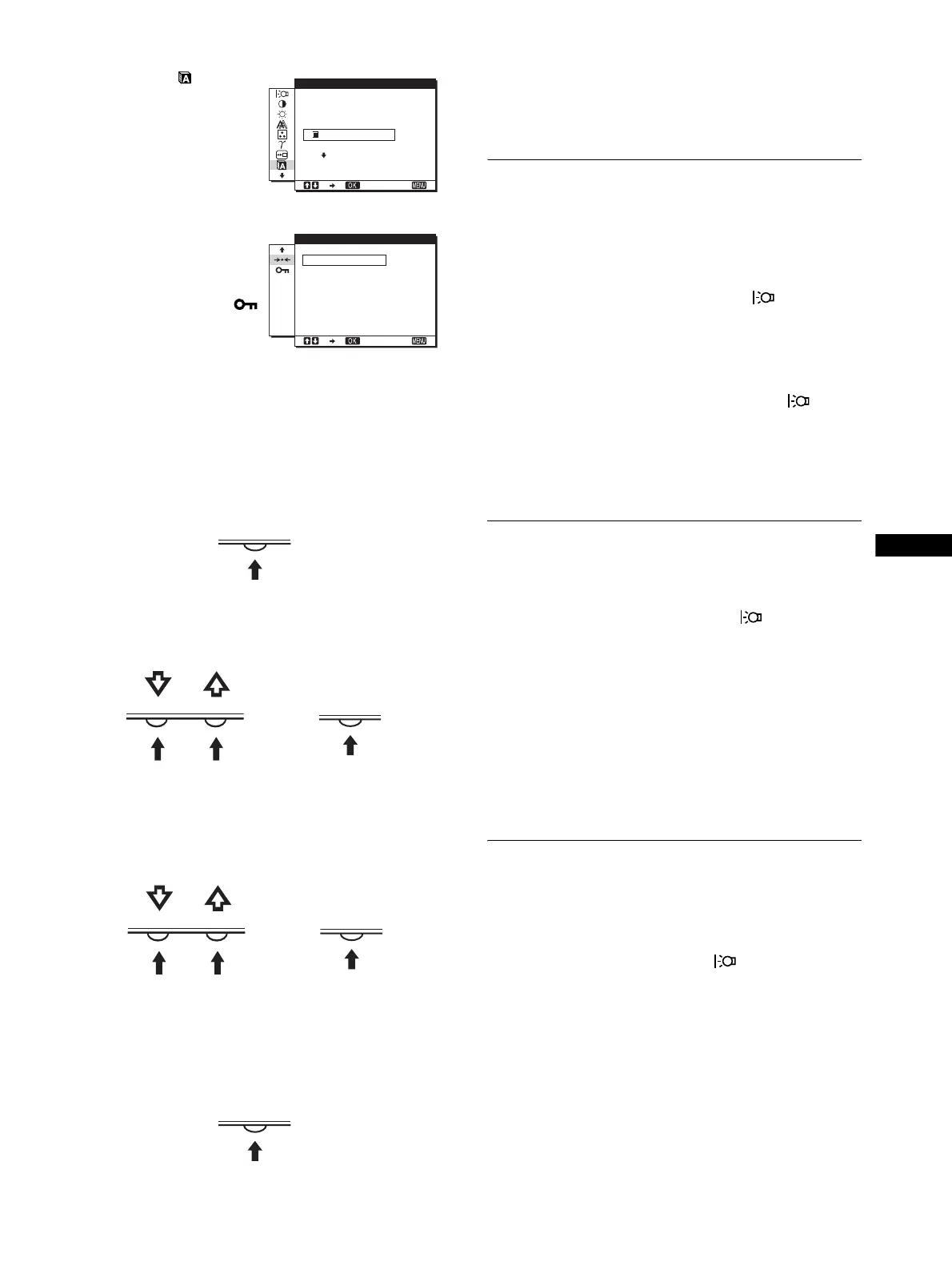
x Uso de los botones MENU, M/m y OK
1 Muestre el menú principal.
Pulse el botón MENU para que el menú principal aparezca en
pantalla.
2 Seleccione el menú que desee ajustar.
Pulse los botones M/m para que aparezca el menú deseado.
Pulse el botón OK para seleccionar el elemento de menú.
3 Ajuste el menú.
Pulse los botones M/m para realizar el ajuste y, a
continuación, pulse el botón OK.
Al pulsar el botón OK, el ajuste se almacena y, a
continuación, la unidad vuelve al menú anterior.
4 Cierre el menú.
Pulse el botón MENU una vez para recuperar la visualización
normal. Si no pulsa ningún botón, el menú se cerrará
automáticamente después de unos 30 segundos.
x Restauración de los ajustes
Es posible restaurar los ajustes mediante el menú REST. Consulte
la página 14 para obtener más información sobre la restauración
de los ajustes.
Ajuste de la luz de fondo
(RETROILUMIN)
Si la pantalla brilla demasiado, ajuste la luz de fondo para facilitar
su visualización.
Nota
No se puede ajustar la luz de fondo cuando el modo está ajustado en
ALTO, MEDIO o BAJO (página 10).
1 Pulse el botón MENU.
El menú principal aparecerá en la pantalla.
2 Pulse los botones M/m para seleccionar
(RETROILUMIN) y pulse el botón OK.
El menú RETROILUMIN aparece en la pantalla.
3 Pulse los botones M/m para ajustar el nivel de luz y,
a continuación, pulse el botón OK.
Ajuste del contraste (CONTRASTE)
Ajuste el contraste de la imagen.
Nota
No se puede ajustar el contraste cuando el modo está ajustado en
ALTO, MEDIO o BAJO (página 10).
1 Pulse el botón MENU.
El menú principal aparecerá en la pantalla.
2 Pulse los botones M/m para seleccionar 6
(CONTRASTE) y pulse el botón OK.
El menú CONTRASTE aparecerá en la pantalla.
3 Pulse los botones M/m para ajustar el nivel de
contraste y, a continuación, pulse el botón OK.
Ajuste del nivel de negro de una
imagen (BRILLO)
Ajuste el brillo de la imagen (nivel de negro).
Nota
No se puede ajustar el brillo cuando el modo está ajustado en ALTO,
MEDIO o BAJO (página 10).
1 Pulse el botón MENU.
El menú principal aparecerá en la pantalla.
2 Pulse los botones M/m para seleccionar 8 (BRILLO)
y pulse el botón OK.
El menú BRILLO aparecerá en la pantalla.
3 Pulse los botones M/m para ajustar el nivel de brillo
y, a continuación, pulse el botón OK.
8 LANGUAGE
(página 14)
Seleccione LANGUAGE
(idioma) para cambiar el
idioma que se utiliza en los
menús o los mensajes.
9 Otros menús (página 14)
Ajuste los siguientes
elementos de menú.
REST 0
BLOQ DE AJUSTES
1280 1024 60Hzx /
EX I T
LANGUAGE
ENGL I SH
FRANÇA I S
DEUTSCH
ESPAÑOL
I TAL I ANO
1280 1024 60Hzx /
EX I T
ACEPTAR
CANCELAR
REST
MENU
OK
,
OK
,
MENU

Other manuals for Sony SDM-HS73

Related product manuals