EasyManua.ls Logo

Sony TA-EX880 - DISASSEMBLY

Sony TA-EX880
16 pages
Print Icon
To Next Page IconTo Next Page
To Next Page IconTo Next Page
To Previous Page IconTo Previous Page
To Previous Page IconTo Previous Page
Loading...
– 4 –
Note: Follow the disassembly procedure in the numerical order given.
SECTION 3
DISASSEMBLY
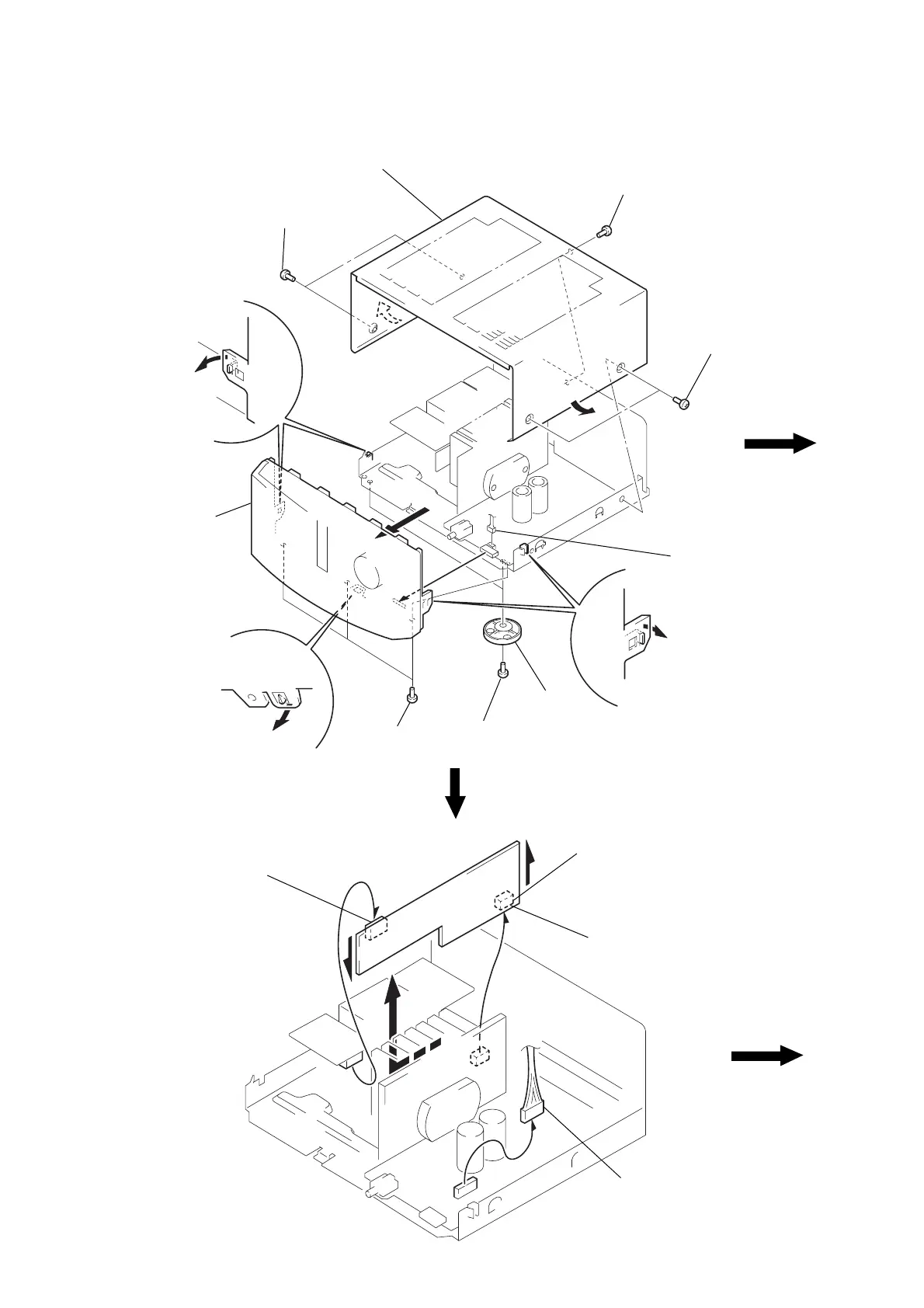
CASE, FRONT PANEL ASS’Y
CONNECTOR BOARD
1
screw
(BVTT3
×
6)
2
two crews
(case 3 TP2
)
2
two screws
(case 3 TP2)
3
case
5
two screws
(BV3
×
10)
7
three screws
(BV3
×
10)
8
claw
8
two claws
6
two legs (F)
4
connector
(CN504)
9
front panel ass’y
8
two claws
2
Remove the
connector (CN553)
to direction of arrow
A
.
3
Remove the
connector (CN554)
to direction of arrow
B
.
4
Remove the
connector board
to direction of arrow
C
.
1
connector (CN501)
B
C
A

Related product manuals