EasyManua.ls Logo

Sony TC-765 - Power Supply and Motor Control Circuits

Sony TC-765
62 pages
Print Icon
To Next Page IconTo Next Page
To Next Page IconTo Next Page
To Previous Page IconTo Previous Page
To Previous Page IconTo Previous Page
Loading...
|
TC-765
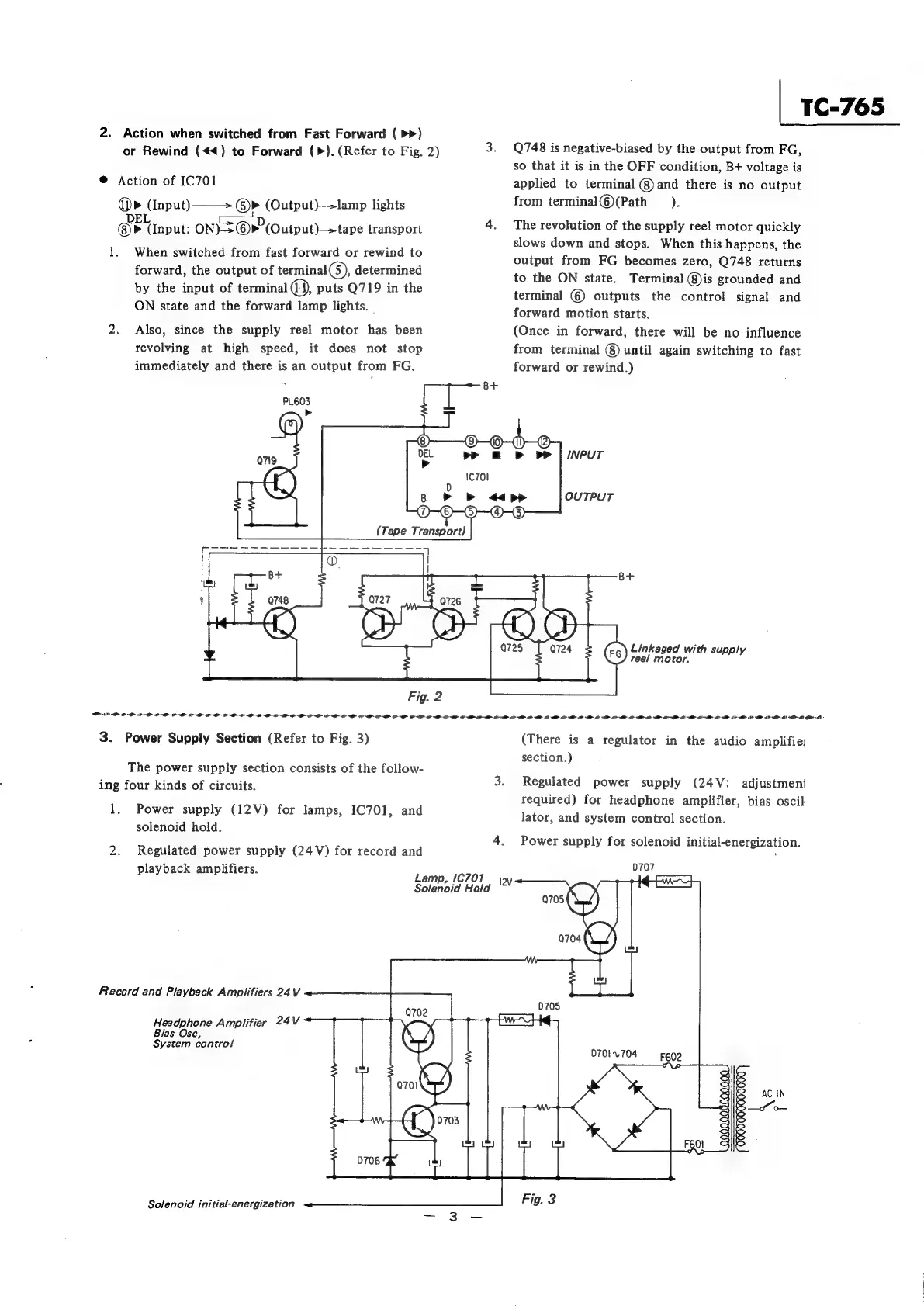
2.
Action
when
switched
from
Fast
Forward
(
>>)
or
Rewind
(<4)
to
Forward
(>).
(Refer
to
Fig.
2)
3.
Q748
is
negative-biased
by
the
output
from
FG,
so
that
it
is
in
the
OFF
condition,
B+
voltage
is
®
Action
of
IC701
applied
to
terminal
@
and
there
is
no
output
@p»
(Input)
>
©
>
(Output).-->lamp
lights
from
terminal
©
(Path
).
@r
(Input:
ON)
©»?(Output)->tape
transport
4.
The
revolution
of
the
supply
reel
motor
quickly
slows
down
and
stops.
When
this
happens,
the
output
from
FG
becomes
zero,
Q748
returns
to
the
ON
state.
Terminal
@)is
grounded
and
terminal
©
outputs
the
control
signal
and
forward
motion
starts.
1.
When
switched
from
fast
forward
or
rewind
to
forward,
the
output
of
terminal(5),
determined
by
the
input
of
terminal
@,
puts
Q719
in
the
ON
state
and
the
forward
lamp
lights.
2.
Also,
since
the
supply
reel
motor
has
been
(Once
in
forward,
there
will
be
no
influence
revolving
at
high
speed,
it
does
not
stop
from
terminal
@)
until
again
switching
to
fast
immediately
and
there
is
an
output
from
FG.
forward
or
rewind.)
Linkaged
with
supply
reel
motor.
LM
LLL
LL
LLL
LLL
LA
I
NN
PN
ANIL
LLL
LPL
LANL
NLL
LDV
MLN
EEN
GA
3.
Power
Supply
Section
(Refer
to
Fig.
3)
(There
is
a
regulator
in
the
audio
amplifie:
section.)
The
power
supply
section
consists
of
the
follow-
ing
four
kinds
of
circuits.
3.
Regulated
power
supply
(24V:
adjustment
required)
for
headphone
amplifier,
bias
oscil
1.
Power
supply
(12V)
for
lamps,
IC701,
and
lator,
and
system
control
section.
solenoid
hold.
4.
Power
supply
for
solenoid
initial-energization.
2.
Regulated
power
supply
(24V)
for
record
and
ifi
D707
playback
amplifiers.
Lamp,
16701
joy
Solenoid
Hold
Record
and
Playback
Amplifiers
24V
Headphone
Amplifier
24V
Bias
Osc,
System
contro!
Solenoid
initial-energization

Other manuals for Sony TC-765

Related product manuals