EasyManua.ls Logo

Sony TC-765 - Page 46

Sony TC-765
62 pages
Print Icon
To Next Page IconTo Next Page
To Next Page IconTo Next Page
To Previous Page IconTo Previous Page
To Previous Page IconTo Previous Page
Loading...
TC-765
|
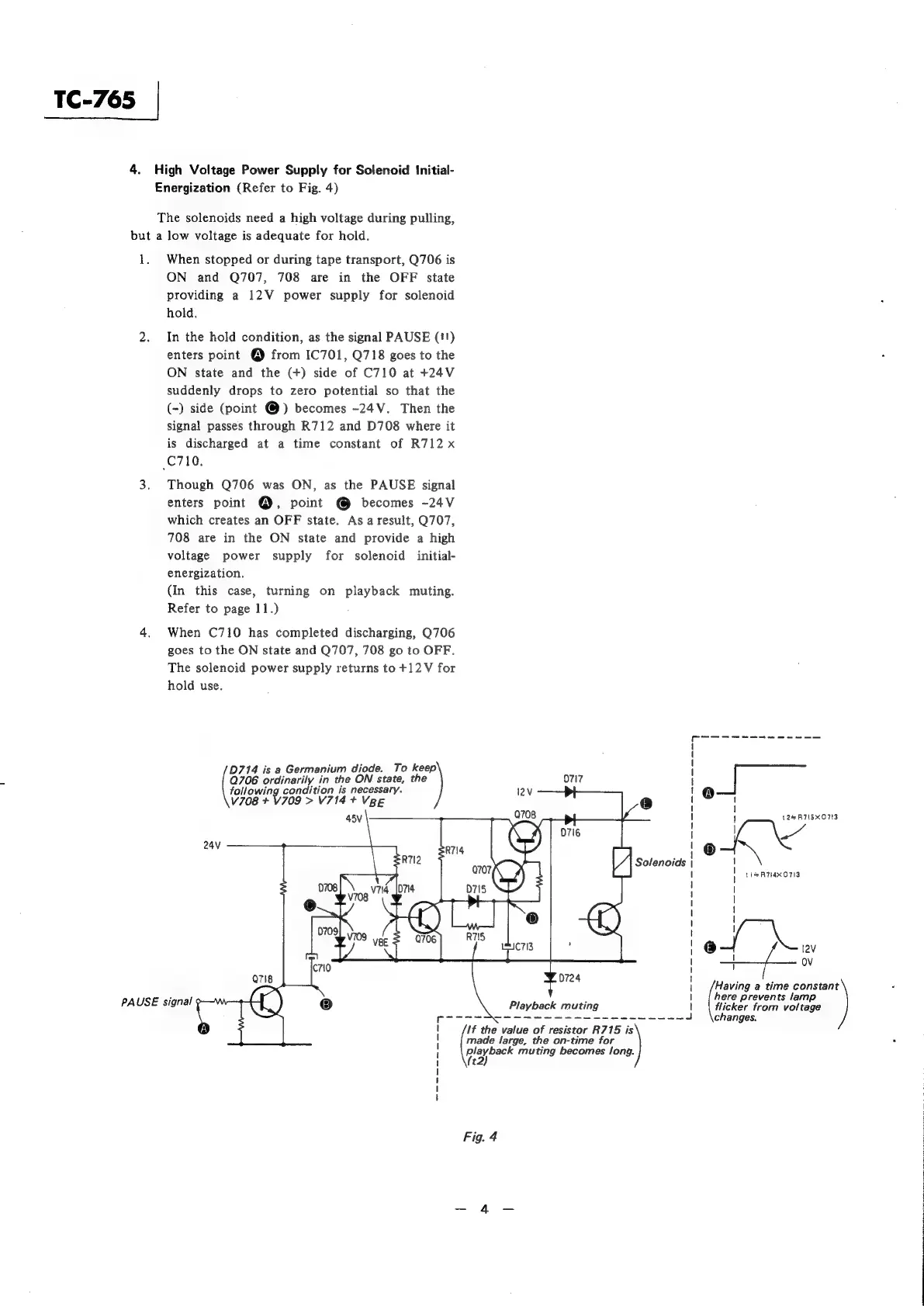
4.
High
Voltage
Power
Supply
for
Solenoid
Initial-
Energization
(Refer
to
Fig.
4)
The
solenoids
need
a
high
voltage
during
pulling,
but
a
low
voltage
is
adequate
for
hold.
1.
When
stopped
or
during
tape
transport,
Q706
is
ON
and
Q707,
708
are
in
the
OFF
state
providing
a
12V
power
supply
for
solenoid
hold.
2.
In
the
hold
condition,
as
the
signal
PAUSE
(1!)
enters
point
@
from
IC701,
Q718
goes
to
the
ON
state
and
the
(+)
side
of
C710
at
+24V
suddenly
drops
to
zero
potential
so
that
the
(~)
side
(point
@)
becomes
-24V.
Then
the
signal
passes
through
R712
and
D708
where
it
is
discharged
at
a
time
constant
of
R712
x
C710.
3.
Though
Q706
was
ON,
as
the
PAUSE
signal
enters
point
@,
point
@
becomes
-24V
which
creates
an
OFF
state.
Asa
result,
Q707,
708
are
in
the
ON
state
and
provide
a
high
voltage
power
supply
for
solenoid
initial-
energization.
(In
this
case,
turning
on
playback
muting.
Refer
to
page
11.)
4.
When
C710
has
completed
discharging,
Q706
goes
to
the
ON
state
and
Q707,
708
go
to
OFF.
The
solenoid
power
supply
returns
to
+12
V
for
hold
use.
Q706
ordinarily
in
the
ON
state,
the
O7I7
following
condition
is
necessary.
l2v
D714
is
a
Germanium
diode.
To
keep
(ee
+
V709
>
V714
+
Vee
t2=RT5XCMN3
{
\
|
|
|
!
|
A
|
iN
Solenoids
|
|
|
|
|
|
|
'
|
\
{
1
|
I
24Vv
tl=RMN4XC713
@
2v
a
ov
Having
a
time
constant
here
prevents
lamp
flicker
from
voltage
changes.
PAUSE
signal
>
made
large,
the
on-time
for
1f
the
value
of
resistor
R775
is
playback
muting
becomes
long.
(t2)
Fig.
4

Other manuals for Sony TC-765

Related product manuals