EasyManua.ls Logo

Sony VPL-EW5 - Installation Diagrams; Floor Installation Measurements

Sony VPL-EW5
62 pages
Print Icon
To Next Page IconTo Next Page
To Next Page IconTo Next Page
To Previous Page IconTo Previous Page
To Previous Page IconTo Previous Page
Loading...
54
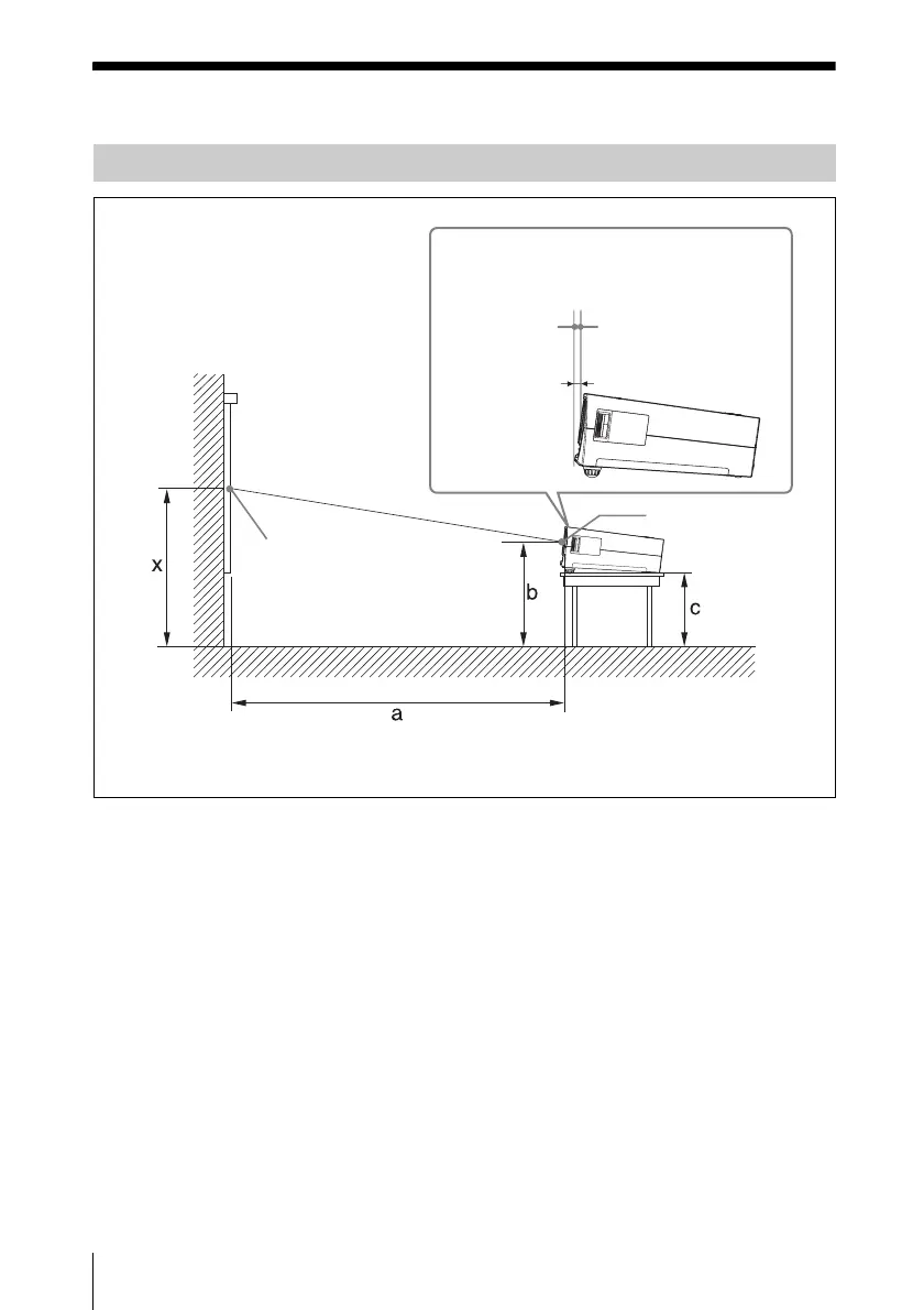
Installation Diagram
Installation Diagram
This section describes the examples of installing the projector on a desk, etc.
See the chart on page 55 concerning the installation measurements.
The alphabetical letters in the illustration indicate the distances below.
a: distance between the screen and the center of the lens
b: distance between the floor and the center of the lens
c: distance between the floor and the bottom of the adjusters of the projector
x: distance between the floor and the center of the screen (free)
Floor Installation (Front Projection)
Wall
Distance between the front of the cabinet and
the center of the lens
Front of the lens
Floor
Center of the lens
Center of the
screen
Unit: mm (inches)
14.6 (
19
/32)
* Adjuster not stretched, and the V Keystone function has been done.
Foremost part
of the cabinet

Other manuals for Sony VPL-EW5

Related product manuals