EasyManua.ls Logo

Sony VPL-EW5 - Ceiling Installation Measurements

Sony VPL-EW5
62 pages
Print Icon
To Next Page IconTo Next Page
To Next Page IconTo Next Page
To Previous Page IconTo Previous Page
To Previous Page IconTo Previous Page
Loading...
56
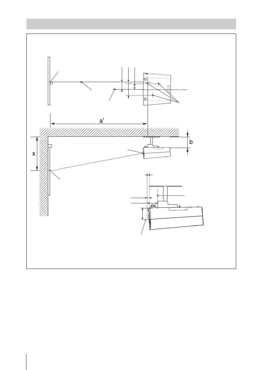
Installation Diagram
This section describes the examples for installing the projector on the ceiling.
When installing the projector on the ceiling, use a Projector Suspension Support recommended
by Sony.
For ceiling installation, ask for qualified Sony personnel.
See the chart on page 57 concerning the installation measurements.
The alphabetical letters in the illustrations indicate the distances below.
a’: distance between the hole (front) for mounting a projector suspension support on bottom
surface of this projector and the center of the screen
b: distance between the hole (front) for mounting a projector suspension support on bottom
surface of this projector and the ceiling
x: distance between the ceiling and the center of the screen
Ceiling Installation (Front Projection)
The unit is set so that the bottom is parallel to the ceiling. The V Keystone function has been done.
Ceiling
Distance between the front of the cabinet and the hole
for mounting a projector suspension support (front)
Center of the lens
Center of the screen
Unit: mm (inches)
Center of the screen
Center of the lens
Center of the Projector
Center of the lens
Center of the lens
Foremost part of
the cabinet
Hole for mounting a
projector suspension
support (front)
10.4 (
3
/8)
26.7 (1)
72.5
(2
7
/8)
69.5 (2
3
/4)
Holes for mounting a
projector suspension support
104.5 (4
1
/
8
)
42.2 (1
5
/
8
)

Other manuals for Sony VPL-EW5

Related product manuals