EasyManua.ls Logo

Sony VPL-VW5000ES - Location of Controls; Rear;Bottom

Sony VPL-VW5000ES
53 pages
Print Icon
To Next Page IconTo Next Page
To Next Page IconTo Next Page
To Previous Page IconTo Previous Page
To Previous Page IconTo Previous Page
Loading...
4
m REMOTE connector
Connects to a computer, etc. for remote control.
Indicators and remote control detector
n ON/STANDBY indicator (page 39)
o WARNING indicator (page 39)
p Remote control detector (page 6)
Others
q Lens
r Ventilation holes (intake)
If you look through the projection lens while the unit is
projecting, the light may damage your eyes. Take special
caution when using the unit around children.
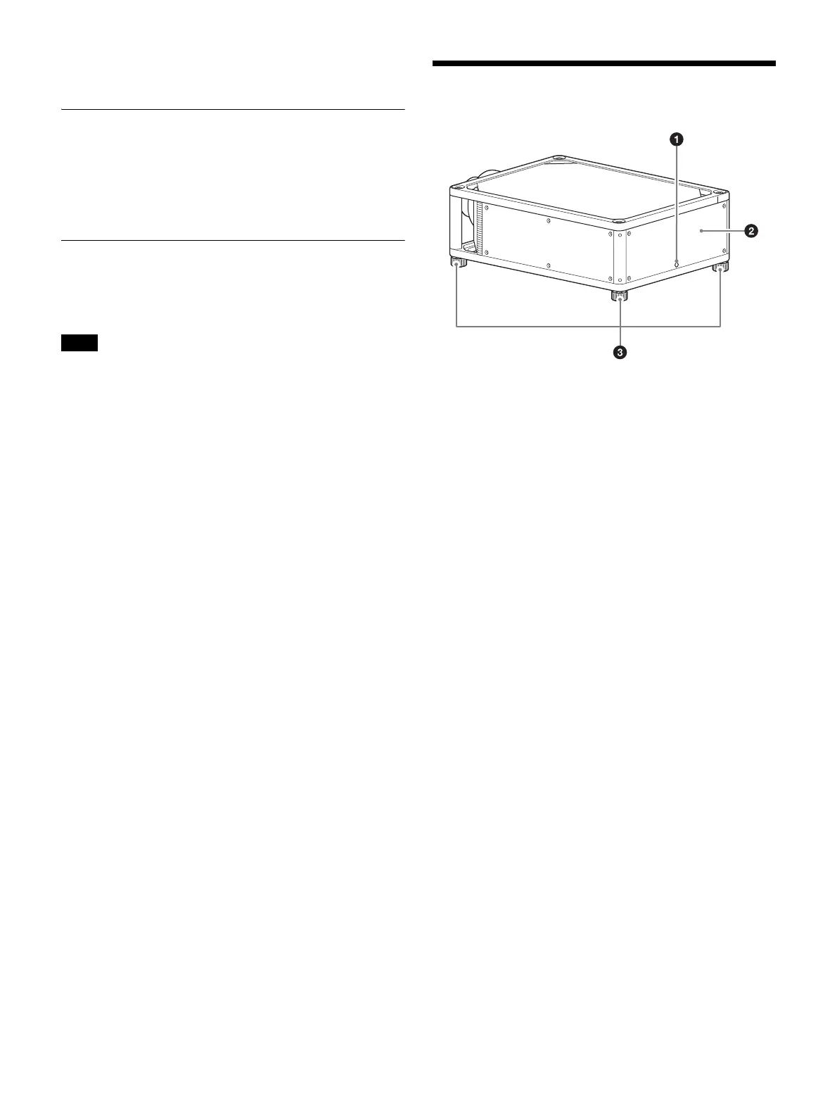
Rear/Bottom
a Remote control detector (page 6)
b Ventilation holes (exhaust)
c Feet (adjustable) (page 9)
Note

Related product manuals