EasyManua.ls Logo

Sorvall RT/T6000D - Page 105

Sorvall RT/T6000D
302 pages
Print Icon
To Next Page IconTo Next Page
To Next Page IconTo Next Page
To Previous Page IconTo Previous Page
To Previous Page IconTo Previous Page
Loading...
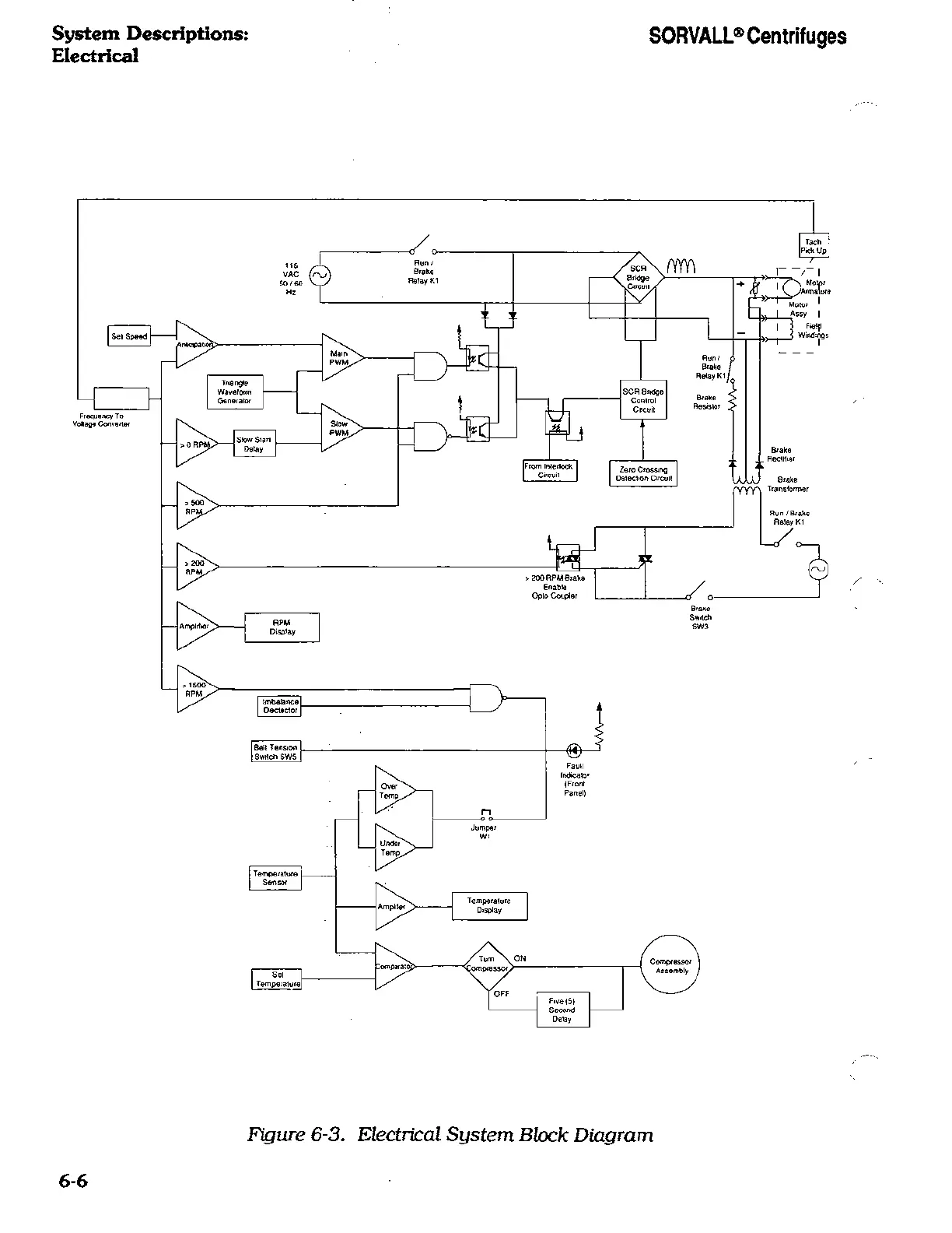
System
Descriptions:
Electrical
SORVALL®
Centrifuges
Rgure
6-3. Electrical
System
Block
Diagram
6-6

Related product manuals