EasyManua.ls Logo

Sorvall RT/T6000D - Page 254

Sorvall RT/T6000D
302 pages
Print Icon
To Next Page IconTo Next Page
To Next Page IconTo Next Page
To Previous Page IconTo Previous Page
To Previous Page IconTo Previous Page
Loading...
RT6000D. T6000D, RT6000B,
and
T6000B
Centrifuges
Serial
Number
9101800
and Above
SORVALL-Centrifuges
P10
i>^
SPEED
a
2.5
UREF
5
TEMPERATURE 3
>
1.97
UREF 4
>
5U
5U
SPEED
FBULT
6
/
OPEN 7
.
J
Cl
FAUL
——————N/C
>RB
'330
'
.1
50
T
K
uF
U
1
3
n
4
R5
U2
^
n
U5717:
I-
L
f^
^a9.4K
^-
R6
V.
A A
6
H
3
100
DftTEL
DnS-21645-
1
I
'
U4
/
/
/
/
/
,
/
/
/
/
/
3
9
1
R3J5
15
.C
K
IV. ^R8
•y 10.0
±
1
Rl
K
/.
5
/
/
/
/
/
/
7
10
GftIN
+
3
\
4
U
K R4
————"A——'
]
3.92K
1%
I
DaTEL
DMS-21644-1
1
11
\i
3
1
Ul
L.
6
n
PIU57173
/
/
/
/
/
/
/
/
OPEN
(DOOR)
U3
7
8
LJ
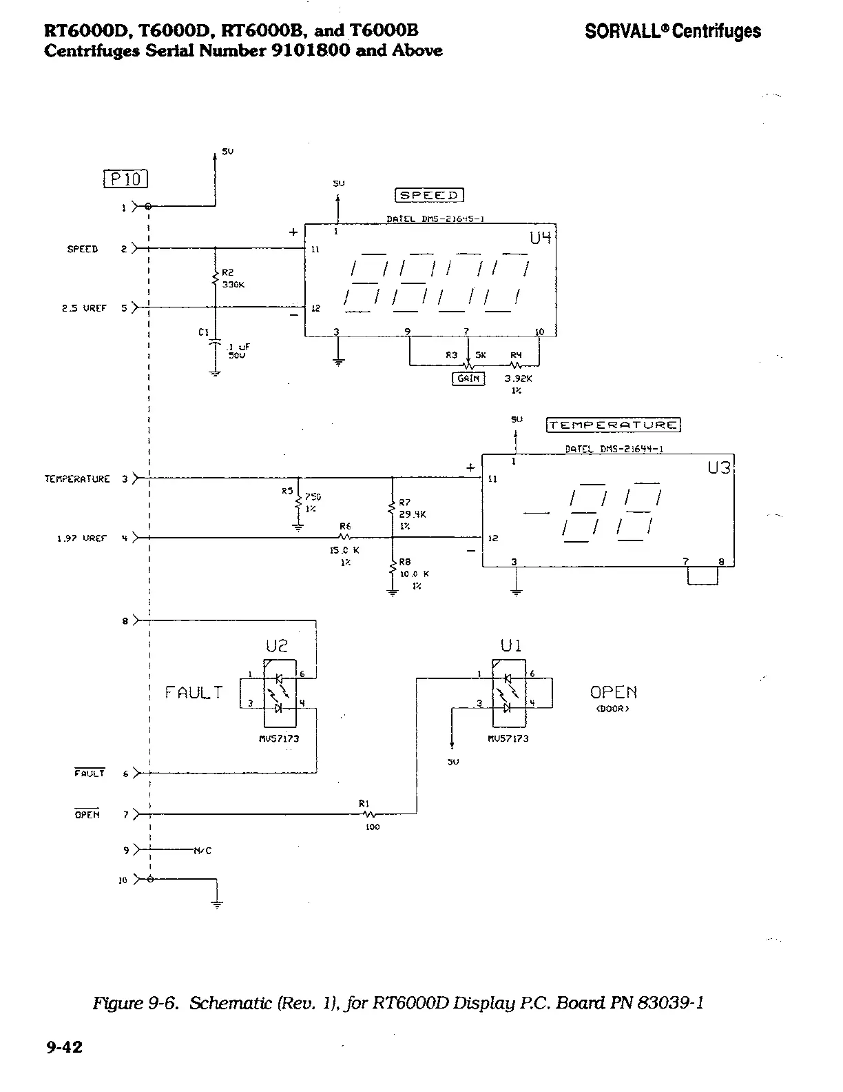
Figure
9-6.
Schematic
(Rev.
1),
for
RT6000D
Display
P.O.
Board
PN
83039-1
9-42

Related product manuals