EasyManua.ls Logo

Sorvall RT/T6000D - Page 299

Sorvall RT/T6000D
302 pages
Print Icon
To Next Page IconTo Next Page
To Next Page IconTo Next Page
To Previous Page IconTo Previous Page
To Previous Page IconTo Previous Page
Loading...
SORVALL®
Centrifuges
RT6000D, T6000D, RT6000B,
and
T6000B
Centrifuges
Serial
Number
9101800
and
Above
[^___0
FRONT
VIEW
RT6000D
SHOWN
15 16 15 17
FORT/RT6000B
1Q
•IQ
.17
15 20
13
10 13 I/
SEE DETAIL B
1a
l0
" lw
"
DETAILS
ARE FOR
T6000B
&
RT6000B
24,25,26
23 15
27,28
DETAIL
A
Rev.
7/93
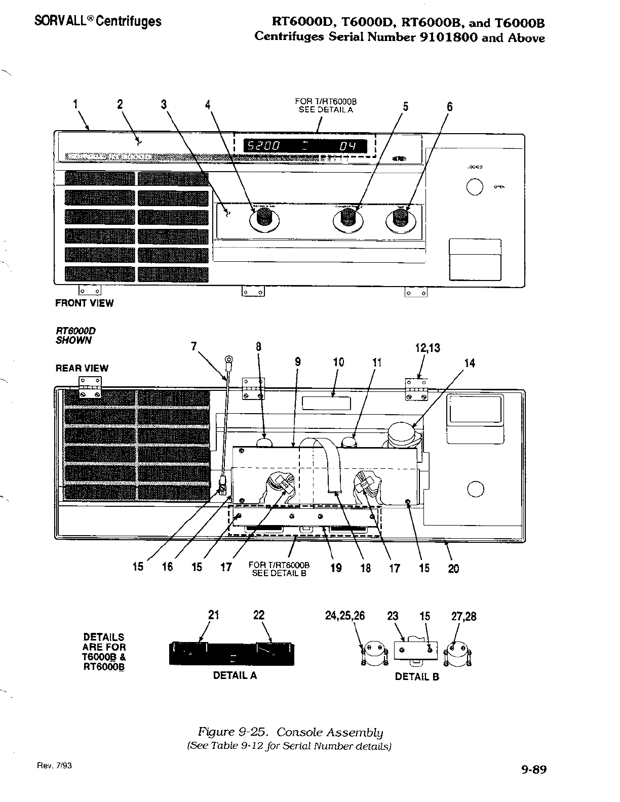
Figure
9-25.
Console Assembly
(See
Table
9-12
for
Serial
Number
details)
9-89

Related product manuals