EasyManua.ls Logo

Sorvall RT/T6000D - Page 301

Sorvall RT/T6000D
302 pages
Print Icon
To Next Page IconTo Next Page
To Next Page IconTo Next Page
To Previous Page IconTo Previous Page
To Previous Page IconTo Previous Page
Loading...
SORVALL®Centrifuges
RT6000D,
T6000D, RT6000B,
and
T6000B
Centrifuges Serial Number
9101800
and Above
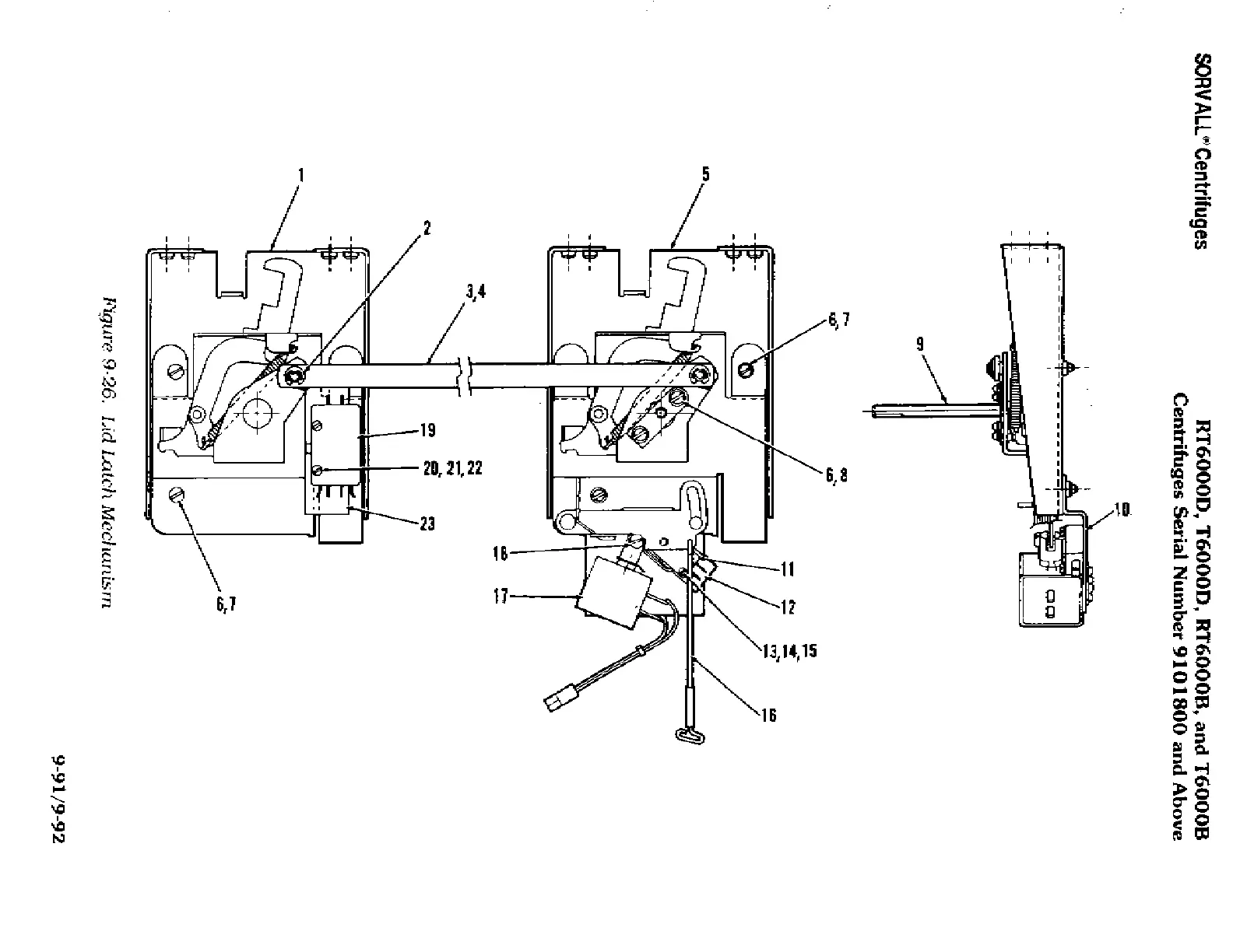
Figure
9-26.
Lid
Latch
Mechanism
9-91/9-92

Related product manuals