EasyManua.ls Logo

SPT IM-124S - Specifications; Description

SPT IM-124S
7 pages
Print Icon
To Next Page IconTo Next Page
To Next Page IconTo Next Page
To Previous Page IconTo Previous Page
To Previous Page IconTo Previous Page
Loading...
3
Specifications:
Model NumberIM-124S
Daily Ice Output26 lbs / 24 hours
Ice Sizes
small
large
Ice Storage Capacity1.3 lbs
RefrigerantR134a
Water Reservoir Capacity2.1 L
Voltage: 110-120V
Frequency: 60 Hz
Power Consumption: 120 W
Unit Dimensions
9.76W x 14.65D x 12.4H inches
Packing Dimensions13.15 x 18.43 x 15.35 inches
N.W 20.5 lbs
G.W 25.35 lbs
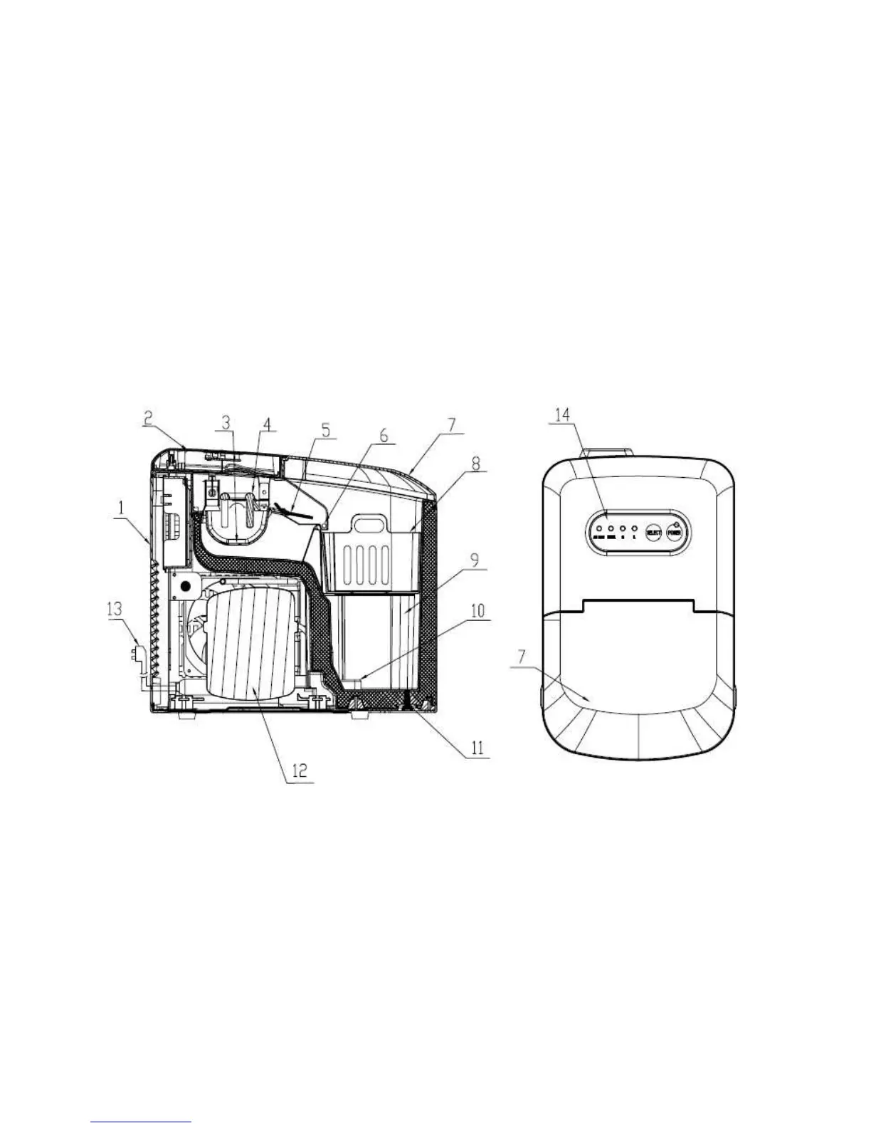
Description:
1. Rear Cover
2.Top Cover
3. Water Tray
4. Evaporator
5. Ice Shovel
6. Ice-Bin-Full Sensor
7. Transparent lid
8. Ice Basket
9. Water Reservoir
10. Filter
11. Water Drain Plug
12. Compressor
13. Power Cord
14. Control panel

Related product manuals