EasyManua.ls Logo

SPX FLOW APV GPHE - Page 34

SPX FLOW APV GPHE
85 pages
Print Icon
To Next Page IconTo Next Page
To Next Page IconTo Next Page
To Previous Page IconTo Previous Page
To Previous Page IconTo Previous Page
Loading...
34 | INSTALLATION, OPERATION and MAINTENANCE MANUAL
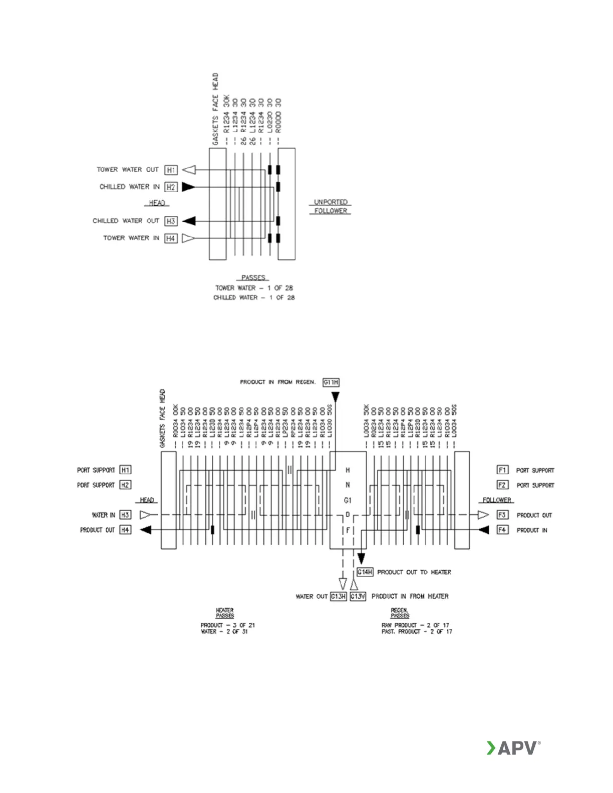
Figure 26: Single pass arrangement example
Figure 27: Two-section arrangement example