EasyManua.ls Logo

Stanley MHP3 - Mhp3 Diesel Power Unit Reservoir Illustration & Parts

Stanley MHP3
34 pages
Print Icon
To Next Page IconTo Next Page
To Next Page IconTo Next Page
To Previous Page IconTo Previous Page
To Previous Page IconTo Previous Page
Loading...
MHP3 Diesel User Manual ◄ 31
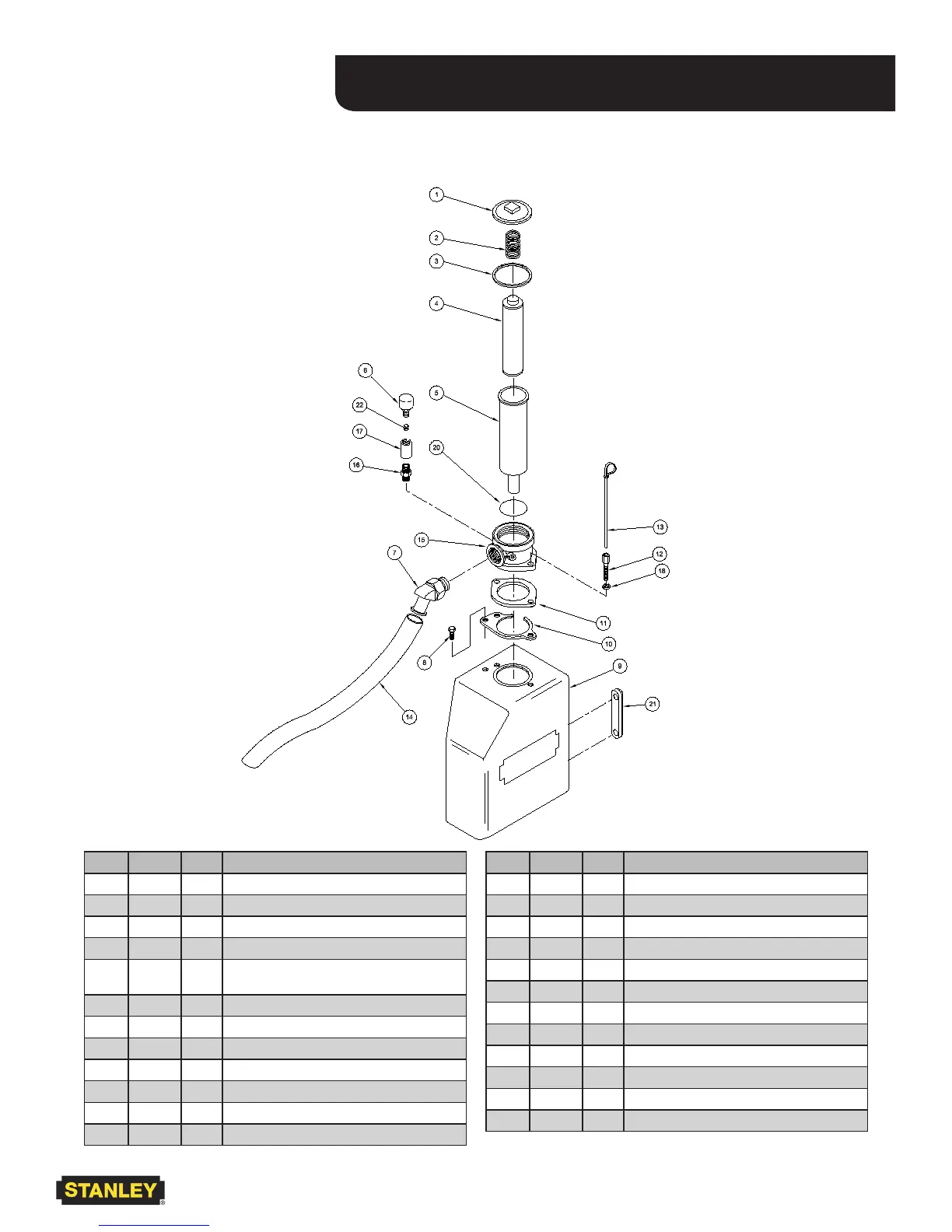
MHP3 DIESEL PARTS
MHP3 DIESEL POWER UNIT RESERVOIR ILLUSTRATION &
PARTS
ITEM P/N QTY DESCRIPTION
1 52774 1 LID
2 52775 1 SPRING
3 01202 1 O-RING
4 40408 1 FILTER ELEMENT
40080 1 FILTER ASSY (INCL ITEMS 1–5, 11–13,
15, 18, 20)
5 58487 1 FILTER BOWL
6 69799 1 BREATHER VENT
7 40364 1 ELBOW, 45°
8 43688 1 CAPSCREW
9 69749 1 TANK
10 40133 1 GRIP PLATE
11 52782 1 GASKET
ITEM P/N QTY DESCRIPTION
12 52773 1 DIPSTICK BOLT
13 52772 1 DIPSTICK
14 04306 1 HOSE
15 58486 1 FILTER HEAD
16 03044 1 NIPPLE
17 58460 1 COUPLING
18 58489 1 PLASTIC WASHER
19 11179 1 HOSE CLAMP
20 01258 1 O-RING
21 66788 1 SIGHT GAUGE
22 69796 1 ORIFICE PLUG
43592 1 SERVICE KIT