EasyManua.ls Logo

Startco FPU-16 - Other Ict-2 Connections

Default Icon
47 pages
Print Icon
To Next Page IconTo Next Page
To Next Page IconTo Next Page
To Previous Page IconTo Previous Page
To Previous Page IconTo Previous Page
Loading...
Startco Engineering Ltd. Page 33
FPU-16 Feeder Protection Unit Rev. 0
Pub. FPU-16-M, November, 1997 Downloaded from the Internet, see Disclaimer.
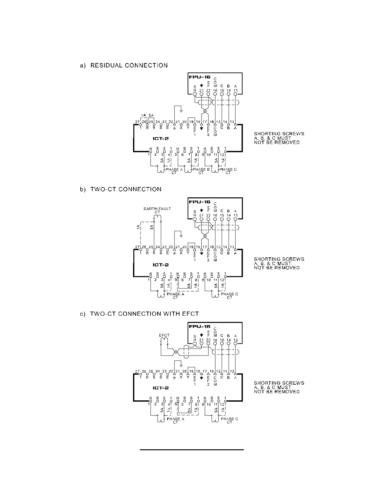
OTHER ICT-2 CONNECTIONS
FIGURE 12

Table of Contents