EasyManua.ls Logo

Stihl 350 - Page 74

Stihl 350
98 pages
Print Icon
To Next Page IconTo Next Page
To Next Page IconTo Next Page
To Previous Page IconTo Previous Page
To Previous Page IconTo Previous Page
Loading...
73FS 300, FS 350, FS 400, FS 450, FS 480
español / EE.UU
Cuchillas para pasto,
cuchilla para matorrales
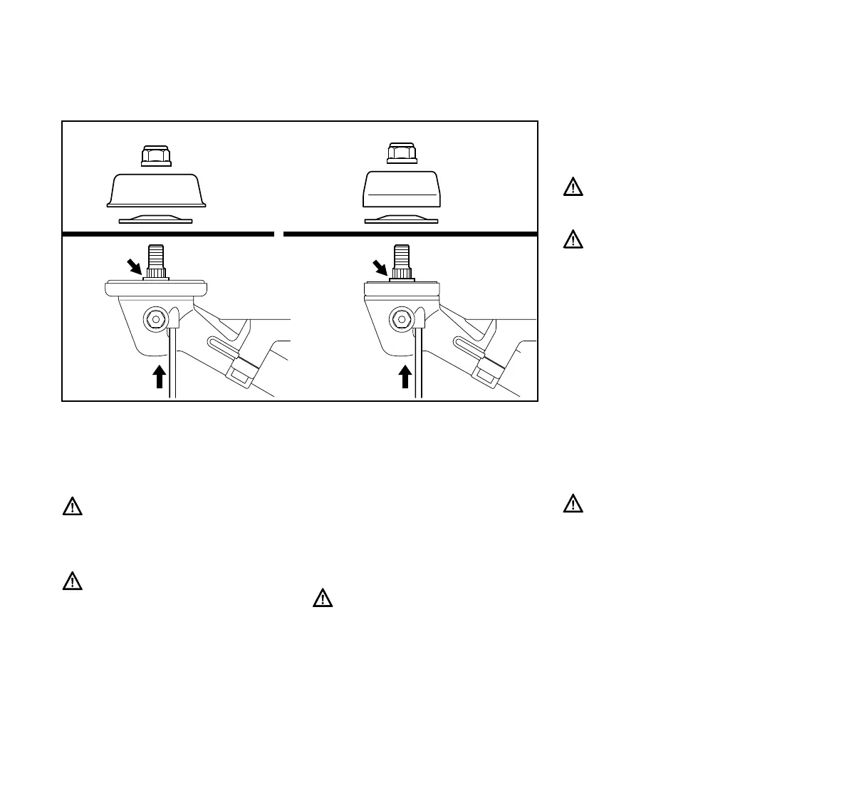
: Coloque la herramienta de corte (1)
en posición.
El collar (vea la flecha) debe
encajar en el agujero de montaje de
la herramienta de corte.
Cuchilla para pasto 255-8:
Los bordes cortantes deben apuntar
en sentido horario.
: Coloque la arandela de empuje (2)
– el lado convexo debe quedar
hacia arriba.
: Coloque la placa de refuerzo (3)
para segar.
: Bloquee el eje de salida.
: Atornille la tuerca (4) en sentido
contrahorario y apriétela
firmemente.
Retiro de la herramienta de corte
: Bloquee el eje de salida.
: Destornille la tuerca en sentido
horario.
Si la tuerca de montaje está
demasiado floja,
instale una nueva.
Sierras circulares 200 y 225
: Coloque la herramienta de corte (1)
en posición.
El collar (vea la flecha) debe
encajar en el agujero de montaje de
la herramienta de corte.
Los bordes cortantes deben apuntar
en sentido horario.
: Coloque la arandela de empuje (2)
– el lado convexo debe quedar
hacia arriba.
: Coloque la placa de refuerzo (5)
para aserrar.
: Bloquee el eje de salida.
: Atornille la tuerca (4) en sentido
contrahorario y apriétela
firmemente.
Retiro de la herramienta de corte
: Bloquee el eje de salida.
: Destornille la tuerca en sentido
horario.
Si la tuerca de montaje está
demasiado floja,
instale una nueva.
2
3
4
5
1
1
2
4
256BA068 KN