EasyManua.ls Logo

Stihl KB - Preparations; Mounting the Deflector

Stihl KB
46 pages
Print Icon
To Next Page IconTo Next Page
To Next Page IconTo Next Page
To Previous Page IconTo Previous Page
To Previous Page IconTo Previous Page
Loading...
14
English / USA
KB, KW
Preparations
: Loosen the gearbox clamp screws
on the basic power tool and pull the
gearbox off the drive tube.
The drive shaft may slip out of the
tube in this process. If this happens,
push the drive shaft back into the
tube.
The drive shaft must not project
from the tube more than distance L
(1 in/25 mm).
If this distance is exceeded:
: Apply slight pressure to the drive
shaft and rotate it slowly at the same
time until it can be pushed in to the
required length.
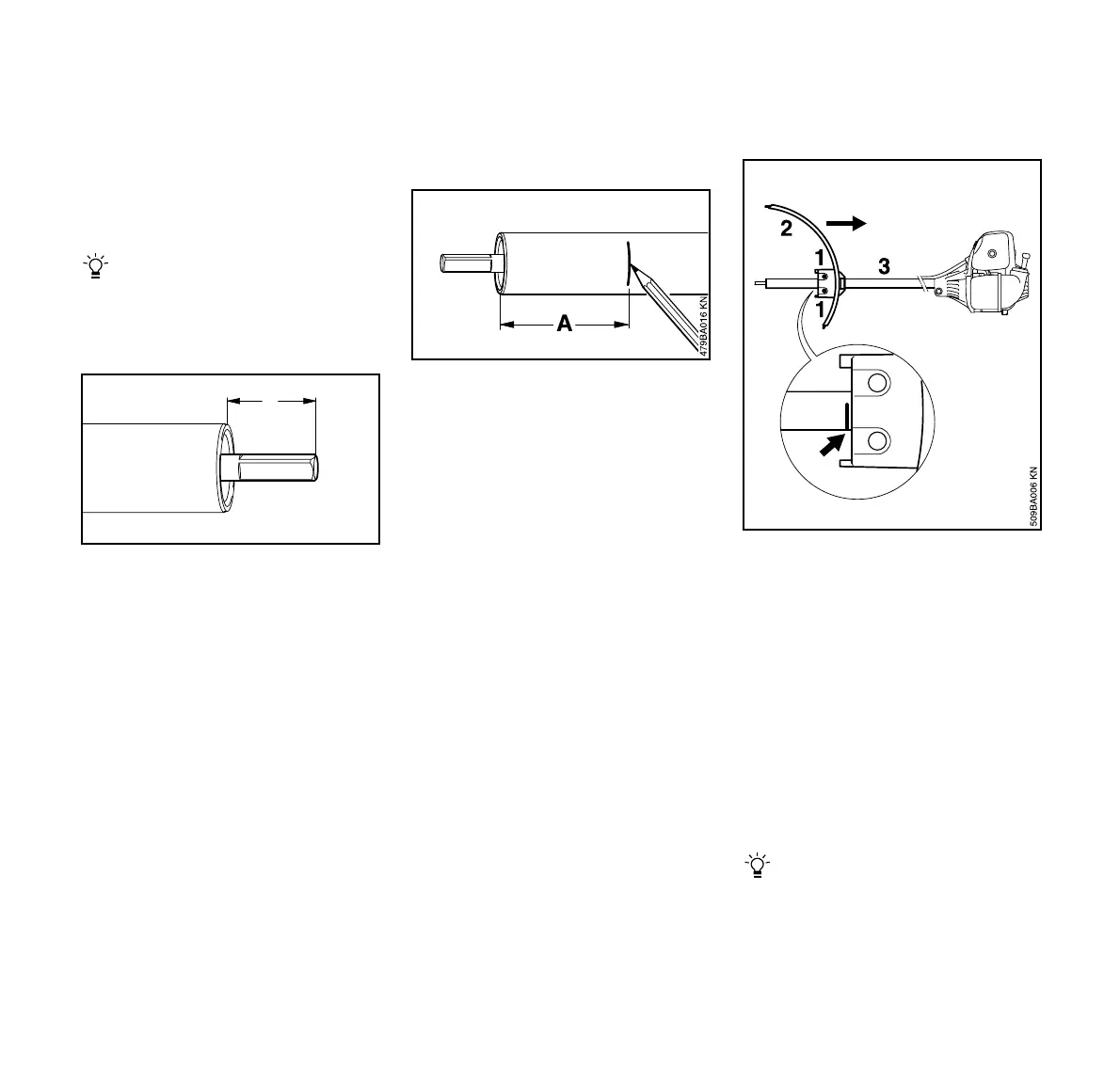
Mounting the Deflector
: Apply a mark at distance A (5 in/
125 mm) from the end of the drive
tube.
: Remove the protective caps from
the ends of the drive tube and keep
them in a safe place.
: Loosen the clamp screws (1).
: Push the deflector (2) onto the drive
tube (3) and beyond the mark
(arrow).
: Pull the deflector (3) back until the
front end of its clamp is flush with or
just covers the mark (arrow).
: Line up the deflector so that it is
horizontal when the machine
support on the powerhead points
down.
: Tighten down the clamp screws (1)
firmly.
It must not be possible to rotate the
deflector on the drive tube.
381BA015 KN
L

Related product manuals