EasyManua.ls Logo

Still EXV 12 - Safety Devices; Location of Safety Devices

Still EXV 12
154 pages
Print Icon
To Next Page IconTo Next Page
To Next Page IconTo Next Page
To Previous Page IconTo Previous Page
To Previous Page IconTo Previous Page
Loading...
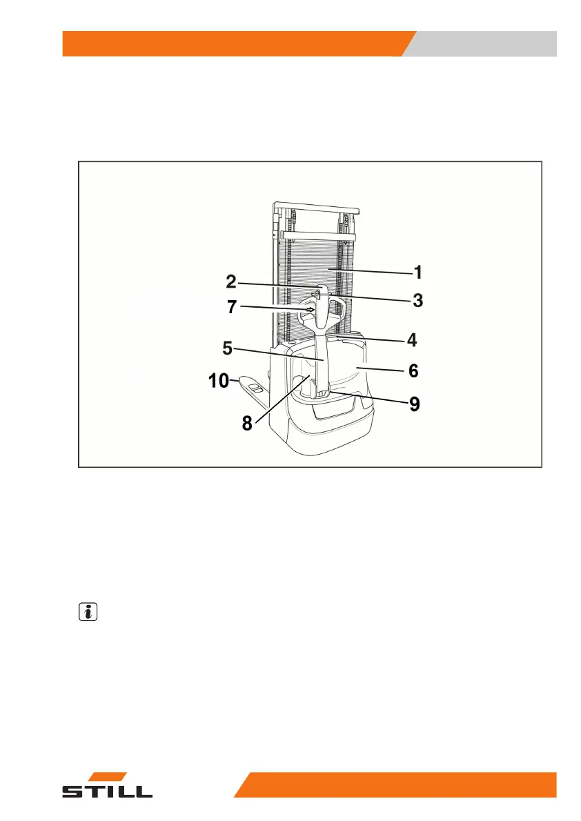
Safety devices
Location of safety devices
Main safety devices on the truck
The operator must be aware of the following
safety devices:
Guard grille
Anti-crush safety feature
Braking by releasing the drive control throttle
Emergency stop button
OptiSpeed tiller
Protective guard
1
2
3
4
5
6
Horn
Electromagnetic brake
Truck braking when the tiller arm reaches
the upper end position and lower end posi-
tion.
Automatic speed reduction with forks raised
approximately 500 mm above the ground.
(only available on 1400 kg version)
7
8
9
10
NOTE
These devices must be checked daily, as de-
scribed in Chapter 4.
Safety
2
Safety devices
2345728043478 EN - 11/2021 - 09

Table of Contents

Related product manuals