EasyManua.ls Logo

Stone CHAMPION - Electric Wiring 1 HP

Stone CHAMPION
43 pages
Print Icon
To Next Page IconTo Next Page
To Next Page IconTo Next Page
To Previous Page IconTo Previous Page
To Previous Page IconTo Previous Page
Loading...
- 38 -
Parts List
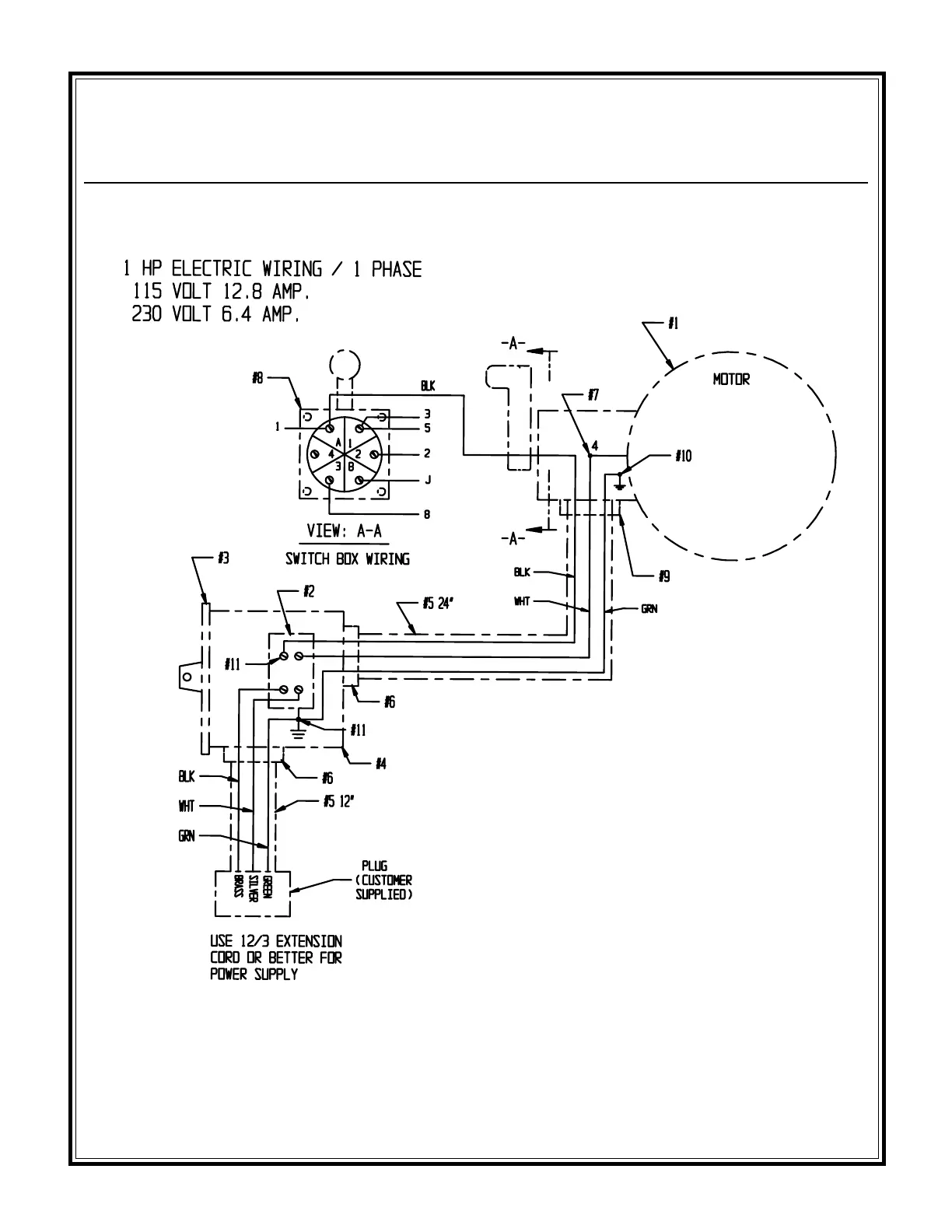
Electric Wiring - 1 HP

Related product manuals