EasyManua.ls Logo

Stulz BNB1000 - Supply and Overflow Piping; Figure 4- Compression Fitting Section View; Figure 5- Piping Connection

Stulz BNB1000
28 pages
Print Icon
To Next Page IconTo Next Page
To Next Page IconTo Next Page
To Previous Page IconTo Previous Page
To Previous Page IconTo Previous Page
Loading...
(©January, 2008)
A
ir Technology Systems, Inc.
BNB Ultrasonic Humidifier Installation, Operation & Maintenance Manual
2-3
2.5 Supply and Overflow Piping
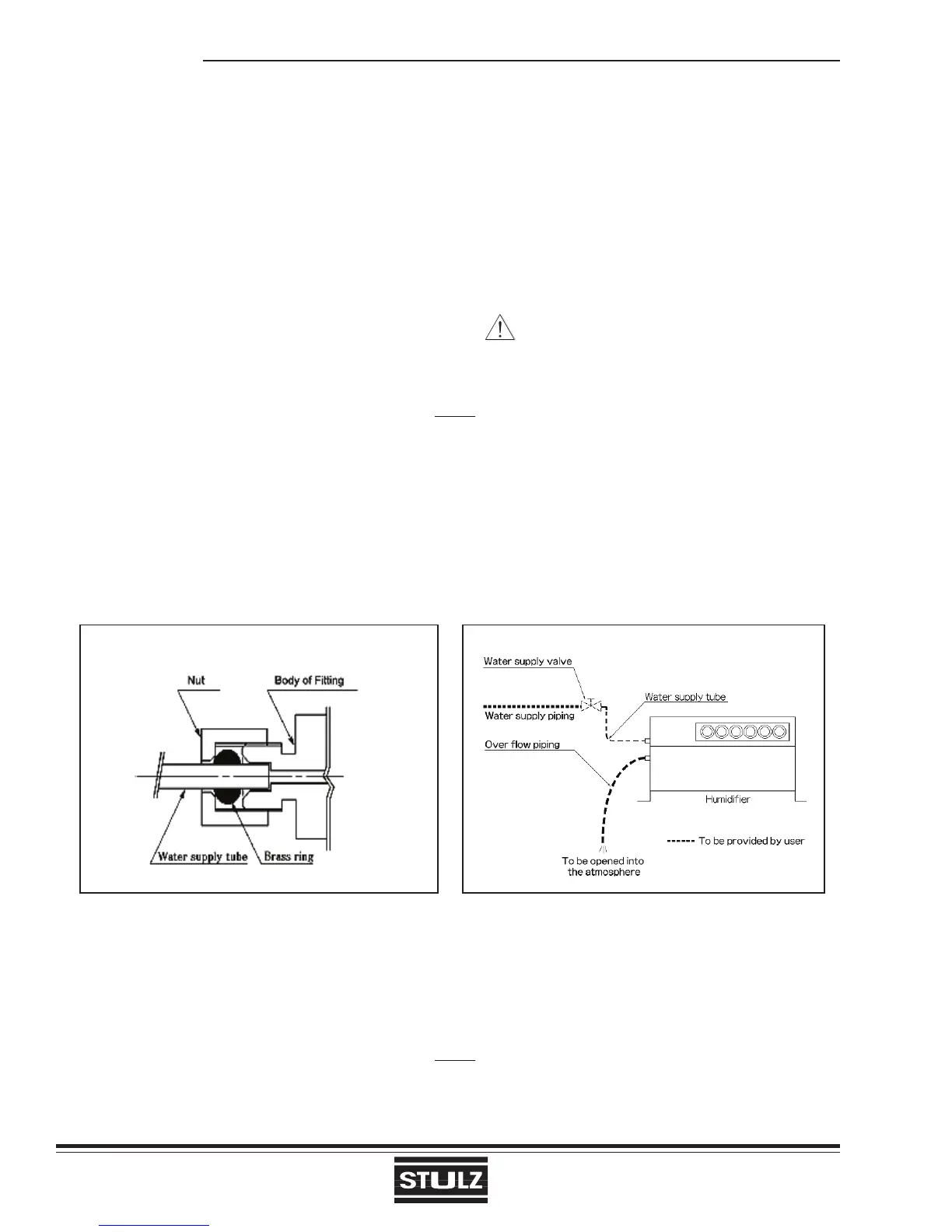
The humidifier will require a field installed water supply line and overflow line. Refer to the piping diagram provided with
your unit for details. For the water supply, use DI or RO water. The water supply to the humidifier cannot be taken
directly from the public water service pipe. Untreated supply water will cause a problem in the room where “white
powder” is produced after evaporation from calcium or magnesium dissolved in the water. In cases where water
quality, especially “residue from evaporation”, “pH”, “total hardness” and “water conductivity” exceeds or is outside
the range of standard, routine maintenance intervals for keeping normal operation will be shorter than usual. Also,
the operating life of the transducers and print plates will be significantly reduced.
CAUTION
It is essential that DI or RO water be used as the supply water source to maintain warranty coverage. The use
of untreated water will VOID THE WARRANTY.
NOTE
The water supply piping must be non-corrosive stainless steel or poly tubing rated for use with de-ionized water
Prepare the water supply piping. The water supply piping should be equipped with a water supply valve, (user
provided), at a place as close as possible to the humidifier. The valve must be rated for use with DI water. After the
water supply valve is installed, flushing should be done by supplying water, (see Section 3.0, “Trial Operation”).
This is a necessary step to prevent chips and oil in the piping from entering the humidifier.
Connect the water supply piping to the humidifier by means of a 1/4” stainless steel or poly tubing, (user pro-
vided). A compression fitting is provided on the side of the humidifier (see Figure 4). Use two adjustable wrenches
to tighten the connection on the humidifier. (Tightening torque: approximately 90 in/lbs).
Install an isolation valve in the supply water line for maintenance purposes.
If there is a risk that the water supply piping could freeze, wrap the piping with insulating material.
Overflow piping must be provided from the water tank for safety should any failure or problem occur. The overflow
pipe stub, approximately 5/8” outside diameter, should be connected with tubing so that overflowing water can be
directed into a drain pan or an appropriate place such as building drain. The overflow tubing must be sloped
downward and away from the unit and the end should not be plugged.
NOTE
The drain plug in the bottom of the water tank should not be removed unless an optional “drain down” solenoid
is supplied.
Figure 4- Compression Fitting Section View
Figure 5- Piping Connections

Related product manuals