EasyManua.ls Logo

Sullair ES-8-25H - Pressure Range Adjustment; Differential Adjustment

Sullair ES-8-25H
86 pages
To Next Page IconTo Next Page
To Next Page IconTo Next Page
To Previous Page IconTo Previous Page
To Previous Page IconTo Previous Page
Loading...
Section 7
COMPRESSOR OPERATION-
ELECTRO-MECHANICAL
25
7.1 INTRODUCTION
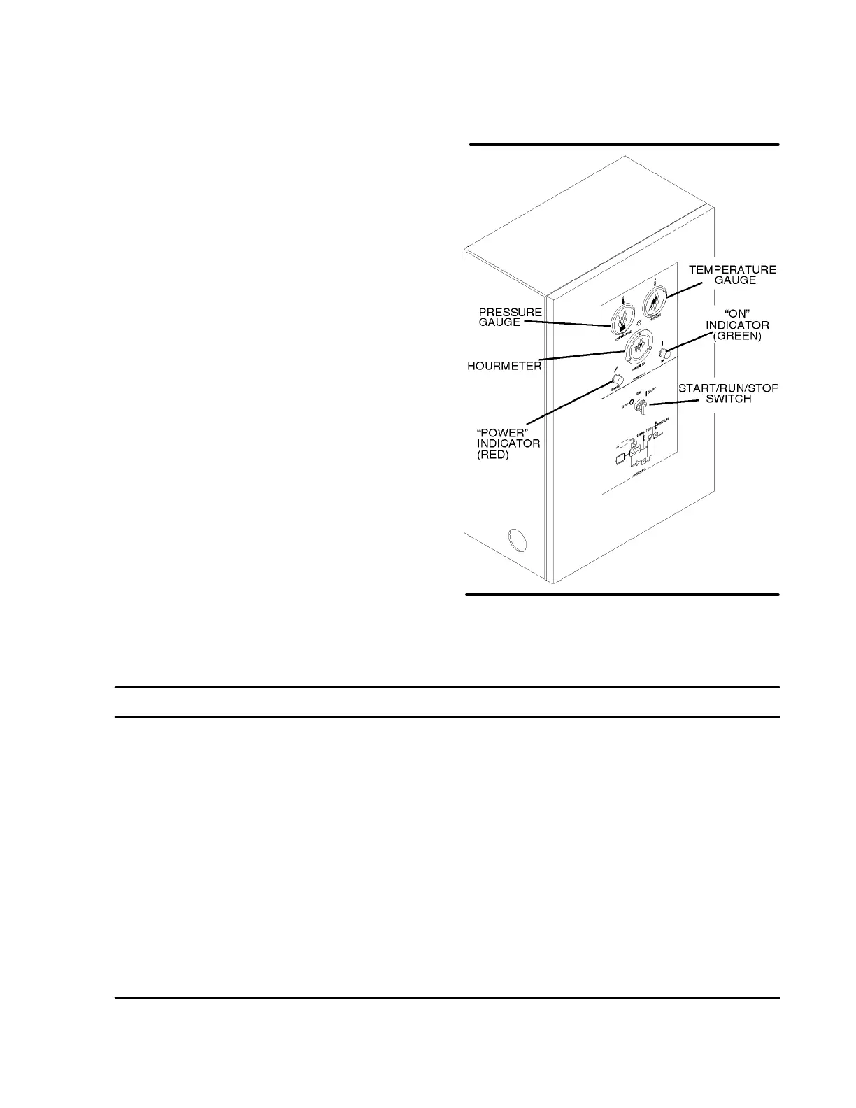
Refer to Figure 7-1. The instrumentation for the
ES-8 Series air compressors consists of a panel
group which continually monitors the operating
condition of the compressor. The standard panel
group has the following gauges: A discharge tem-
perature gauge,aline pressure gauge and an
hourmeter.
SThe line(terminal) pressure gauge is con-
nected to the package discharge port. It
continually monitors the air pressure.
SThe discharge temperature gauge/
switch monitors the temperature of the air/
fluid mixture discharged from the compres-
sor unit. The normal reading should be
approximately 185°F (85°C) with 70°F
(21°C) ambient. The switch shuts compres-
sor down above 240°F (116°C) discharge
temperature.
SThe hourmeter records the cumulative
hours of operation for the compressor. It is
useful for planning and logging service op-
erations. The hourmeter is located in the
door of the control box.
While Sullair has built into this compressor a com-
prehensive array of controls and indicators to as-
sure you that it is operating properly, you will want to
recognize and interpret the reading which will call for
service or indicate the beginning of a malfunction.
Before starting your Sullair compressor, read this
section thoroughly and familiarize yourself with the
controls and indicators - their purpose, location and
Figure 7-1 Instrument Panel Group
use.
7.2 PURPOSE OF CONTROLS- ELECTRO-MECHANICAL
CONTROL OR INDICATOR PURPOSE
START/RUN/STOP START/RUN - Turn switch momentarily to I START
position to start the compressor, upon release the switch
will return to the RUN position.
STOP - Turn switch to O STOP position to stop com-
pressor.
HOURMETER Records cumulative hours of compressor operation;
useful for planning and logging service schedules.
LINE PRESSURE GAUGE Continually monitors service line air pressure.
DISCHARGE TEMPERATURE GAUGE/SWITCH Monitors temperature of the air/fluid mixture dis-
charged from the compressor unit. For air-cooled com-
pressors normal reading is approximately 185°F (85°C
) with a 70°F (21°C) ambient temperature. The switch
shuts the compressor down when discharge tempera-
ture goes above 240°F (116°C).

Table of Contents

Related product manuals