EasyManua.ls Logo

Sullair ES-8-30H - Instrument Panel- Electro-Mechanical

Sullair ES-8-30H
86 pages
To Next Page IconTo Next Page
To Next Page IconTo Next Page
To Previous Page IconTo Previous Page
To Previous Page IconTo Previous Page
Loading...
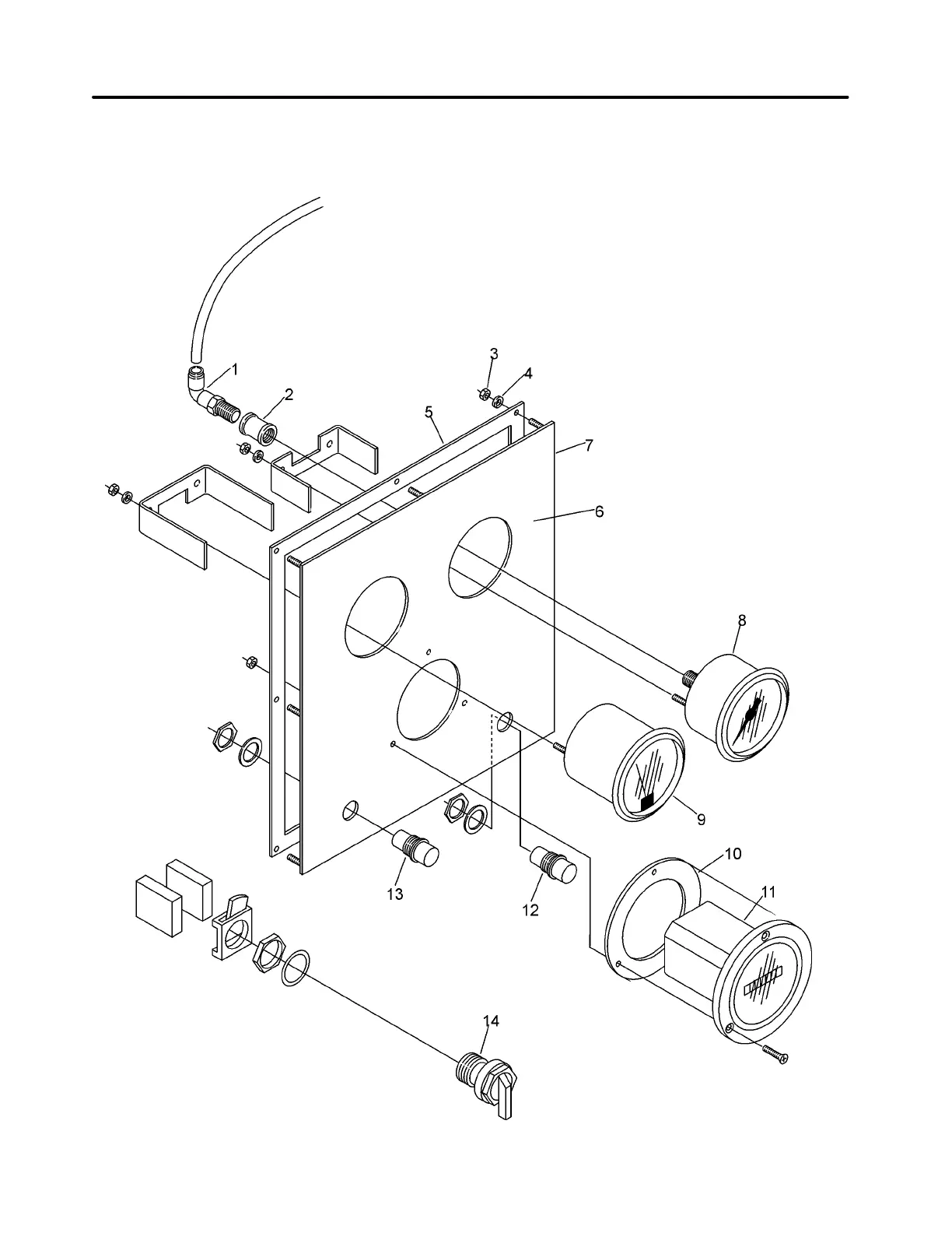
Section 10
ILLUSTRATIONS AND PARTS LIST
58
10.10 INSTRUMENT PANEL- ELECTRO-MECHANICAL

Table of Contents

Related product manuals