EasyManua.ls Logo

Superior BR-42 - FT8 CHIMNEY COMPONENT CALCULATIONS

Superior BR-42
20 pages
Print Icon
To Next Page IconTo Next Page
To Next Page IconTo Next Page
To Previous Page IconTo Previous Page
To Previous Page IconTo Previous Page
Loading...
NOTE: DIAGRAMS & ILLUSTRATIONS NOT TO SCALE.
11
Figure 34
4. Pull up slightly on CTD to ensure locking joint
has firmly engaged.
Using a FTF8-CTDT Chase Termination:
Refer to specific installation instructions in-
cluded with the FTF8-CTDT chase termination
for clearance and installation details.
Using a FTF8-CT1 Chase Termination:
Refer to specific installation instructions in-
cluded with FTF8-CT1 chase terminations for
clearance and installation details.
Using a FTF8-CT2 Chase Termination:
Refer to specific installation instructions in-
cluded with FTF8-CT2 chase terminations for
clearance and installation details.
Note: It is recommended that all exterior ex-
posed metal fireplace components; such as ter-
minations, flashings, storm collars and/or flue
be painted with a premium quality, high tem-
perature, rust preventative paint designed for
metal. This is especially important when instal-
lations are made in abnormally adverse or corro-
sive environments; such as near lakes, oceans or
in areas with consistently high humidity condi-
tions. Consult the paint manufacturers instruc-
tions for proper preparation and application.
*Note: 2" clearance to combustibles required
in Canada.
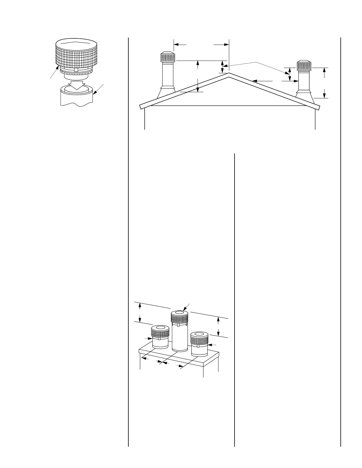
TEN FOOT RULE SUMMARY
The minimum chimney height above the roof
and/or to adjacent walls and buildings is speci-
fied by all major building codes.
If the horizontal distance from the peak of the
roof is less then 10', the top of the chimney
must be at least 2' above the peak of the roof.
If the horizontal distance from the chimney
edge to the peak of the roof is more than 10' a
chimney height reference point is established
on the roof surface 10' horizontally from the
chimney edge.
CTD
Termination
Chimney
Figure 35
The top of the chimney must be at least 2' above
this reference point. In all cases, the chimney
cannot be less then 3' above the roof at the edge
of the chimney.
The 2' in 10' rule is necessary in the interest of
safety but does not ensure smoke-free opera-
tion. Trees, buildings, adjoining roof lines, ad-
verse wind conditions, etc., may require a taller
chimney should the fireplace not draft properly
(
see Figure 35
).
MULTIPLE TERMINATIONS
If more than one termination is located in the
same chase or within the same general proxim-
ity, we suggest they should be separated in
distance at least 24" horizontally from flue cen-
ter to flue center and stacked or staggered
vertically at least 18" apart, from the termina-
tion of one smoke exit to the termination of
another smoke exit (
Figure 36
).
FTF8 CHIMNEY COMPONENT
CALCULATIONS
The minimum installed height of the com-
pleted fireplace system is 15' 0". The maxi-
mum height is 60' 0".
To determine the number of chimney sections
and chimney components required, follow
these steps:
1. Determine total vertical height of the fire-
place installation. This dimension is the dis-
tance from the surface the fireplace sets on
to the point where smoke exits from the
termination.
2. Determine the number of chimney compo-
nents required, except chimney sections. This
would include firestop spacers, stabilizers, roof
flashing, etc.
3. The effective heights of the components are:
The Fireplace = 42 ¹⁄₄"
FTF8-12 = 10 ¹⁄₄"
FTF8-18 = 16 ¹⁄₄"
FTF8-36 = 34 ¹⁄₄"
FTF8-48 = 46 ¹⁄₄"
FTF8-CTD Termination = 4"
FTF8-CT1 Termination = 12" to 18"
FTF8-CT2 Termination = 15" to 23"
FTF8-CTDT Termination = 12" to 18"
FTF8-S4 Stabilizer * = 3"*
* Required for every 30' of vertical chimney
and/or 10' of offset chimney.
CTD
18"
18"
24"
24"
CTDT
CTDT
Less Than 10'
3'
Min
2' Min.
10'
3'
Min
Figure 36
This suggestion is provided in the interest of
better operation. If the terminations are located
too close to each other, smoke may migrate
from one flue into the other.

Related product manuals