EasyManua.ls Logo

Superscope a210 - Dépannage; Entretien; Fixation des Chevilles Pointues; Spécifications

Default Icon
20 pages
Print Icon
To Next Page IconTo Next Page
To Next Page IconTo Next Page
To Previous Page IconTo Previous Page
To Previous Page IconTo Previous Page
Loading...
5
FRANÇAIS
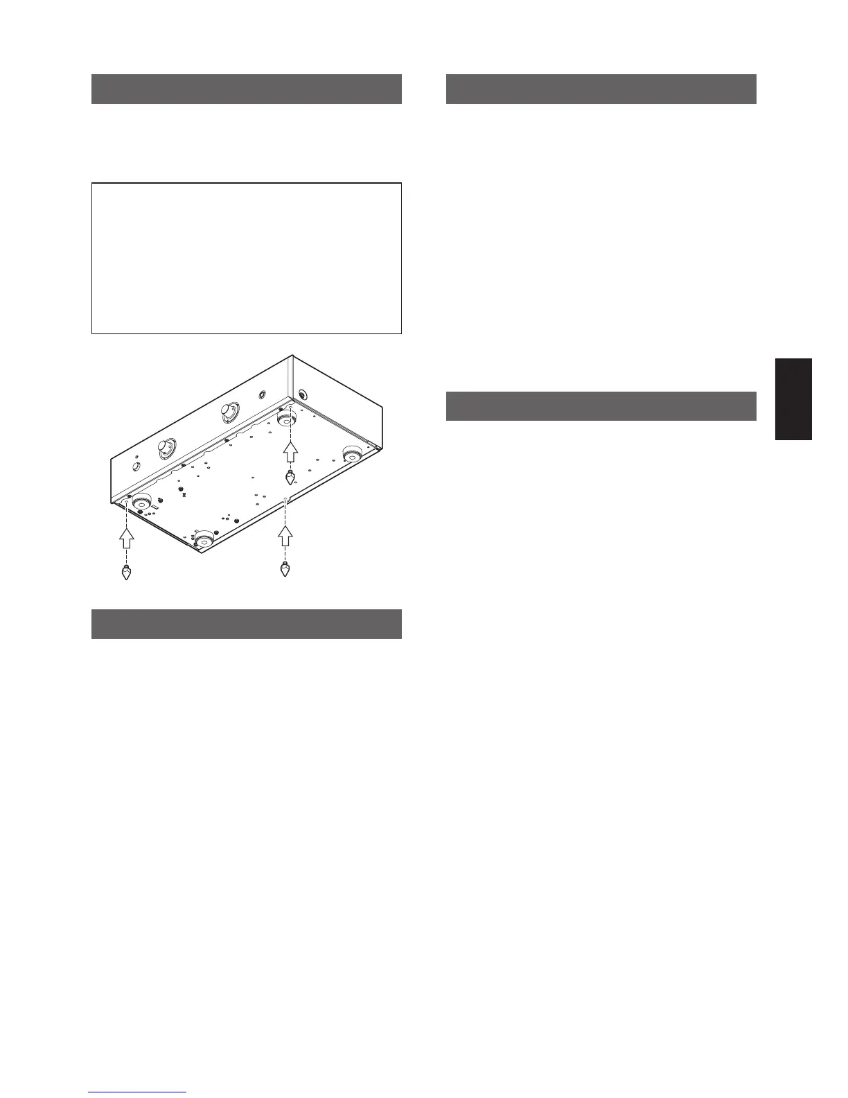
Fixation des chevilles pointues
Fixer des chevilles pointues facultatives au bas de
l’appareil contribuera à protéger les composants de
l’énergie mécanique indésirable.
Remarque :
L'extrémité des plots est tranchante et pourrait
occasionner des blessures. Maniez les plots avec
soin lorsque vous les montez et lorsque vous
effectuez l'installation de l'équipement.
Faites attention car les chevilles pointues peuvent
provoquer des dommages à la surface de la table
ou au support.
Dépannage
* Pas de son
Vérifiez l’alimentation
Vérifiez le sélecteur d’entrée
Vérifiez l’appareil source (alimentation, connexion ou
fonctionnement)
Entretien
Si l’appareil se salit, essuyez-le au moyen d’un chiffon
doux. Pour ôter des taches tenaces, diluez une petite
quantité de liquide vaisselle dans 5 à 6 parts d’eau,
trempez un chiffon doux dans cette solution, essorez-le
bien, nettoyez les taches, puis séchez les surfaces au
moyen d’un chiffon sec.
N’utilisez jamais d’alcool, de diluants, de benzine,
d’insecticides ou d’autres substances volatiles, car elles
risquent de tacher ou d’enlever le vernis de surface.
Gardez à l’esprit le fait que frotter les surfaces avec une
lingette nettoyante imbibée de produits chimiques, ou
laisser une telle lingette au contact pendant une période
prolongée risque de provoquer une détérioration des
surfaces.
Spécifications
Sortie
Baffles ..........................................10 W × 2 (8 Ohms)
Ecouteurs ..................................3,0 W × 2 (32 Ohms)
Pre Out .......................................... 2,0 V (10 k Ohms)
Distorsion harmonique totale
Baffles .........0,2% (10 Hz ~ 100 kHz, 3,3 W, 8 Ohms)
Ecouteurs
....
0,03% (10 Hz ~ 100 kHz, 200 mV, 32 Ohms)
Pre Out ... 0,005% (10 Hz ~ 100 kHz, 2,0 V, 10 k Ohms)
Réponse en fréquence
Baffles .........5 Hz ~ 350 kHz (+0/-1dB, 1 W, 8 Ohms)
Ecouteurs
....
5 Hz ~ 400 kHz (+0/-1 dB, 200 mW, 32 Ohms)
Pre Out .....
5 Hz ~ 400 kHz (+0/-1 dB, 2,0 V, 10 k Ohms)
Sensibilité d’entrée / Impédance
H ..................................0,775V/5 k Ohms (LINE1,2,3)
0,775 V/10 k Ohms (XLR)
L ....................................4,0 V/25 k Ohms (LINE1,2,3)
4,0 V/50 k Ohms (XLR)
Acquisition .......................................H : 22 dB, L : 8 dB
Ratio S/N ...................................115 dB (IHF A Réseau)
Conditions d’alimentation .................... CA 120 V 60 Hz
Consommation d’énergie ....................32 W (UL60065)
16 W (Veille)
Dimension ........................ 420 (l) x 98 (H) x 243 (P) mm
Poids .................................................................. 6,0 kg

Related product manuals