EasyManua.ls Logo

Sym ALA125CC - Operational Precautions; Trouble Diagnosis

Sym ALA125CC
178 pages
Print Icon
To Next Page IconTo Next Page
To Next Page IconTo Next Page
To Previous Page IconTo Previous Page
To Previous Page IconTo Previous Page
Loading...
3. LUBRICATION SYSTEM SYM
3-2
OPERATIONAL PRECAUTIONS
General Information
This chapter contains maintenance operations for the engine oil pump, engine oil and
gear oil.
Specifications
Engine oil quantity Disassembly 850 c.c.
Replacement 750 c.c.
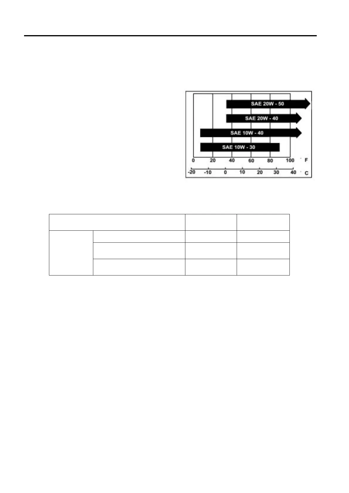
Oil viscosity SAE 10W-30 or equivalent
(Recommended King-Mate
serial oils)
Gear Oil Disassembly 110 c.c.
Replacement 100 c.c.
Oil viscosity of gear oil SAE 85W-140
(Recommended King-Mate
gear oil series SYM
HYPOID GEAR OIL)
unit : mm
Items Standard Limit
Inner rotor clearance
- 0.12
Clearance between outer
rotor and body
- 0.12
Oil pump
Clearance between rotor
side and body
0.05~0.10 0.20
Torque value
Engine oil drain plug 3.5~4.5kgf-m
Engine oil screen cover 1.0~2.0kgf-m
Gear oil drain bolt 3.5~4.5kgf-m
Gear oil filling bolt 1.0~1.4kgf-m
Oil pump drive sprocket nut 0.8~1.2kgf-m
TROUBLE DIAGNOSIS
Low engine oil level
Oil leaking
Valve guide or seat worn out
Piston ring worn out
Low Oil Pressure
Low engine oil level
Clogged in oil strainer, circuits or pipes
Oil pump damage
Dirty oil
No oil change in periodical
Cylinder head gasket damage
Piston ring worn out
Oil viscosity

Related product manuals