EasyManua.ls Logo

Symphonic SD7S3 - Repeat; Program (CD)

Symphonic SD7S3
44 pages
Print Icon
To Next Page IconTo Next Page
To Next Page IconTo Next Page
To Previous Page IconTo Previous Page
To Previous Page IconTo Previous Page
Loading...
25
EN
1L25
REPEAT
REPEAT TITLE / CHAPTER
To activate the repeat function, press REPEAT
during playback.
¡The repeat mode changes as described below every
time you press the button.
DVD-V
REPEAT is available only during playback.
CHAPTER TITLE OFF
(current chapter repeat) (current title repeat)
(repeat off)
Notes
¡Repeat Title/Chapter is not available with some
scenes.
¡The REPEAT setting will be cleared when moving
to other title or chapter.
REPEAT TRACK
To activate the repeat function, press REPEAT
during playback.
¡The repeat mode changes as described below every
time you press the button.
CD
TRACK ALL OFF
(current track repeat) (entire disc repeat)
(repeat
off)
Notes
¡Track Repeat setting will be cleared when moving to
other track.
¡Repeat playback does not function during repeat A-
B playback.
REPEAT A-B
1 Press REPEAT A-B at your chosen starting
point.
¡ A- appears briefly on the TV screen.
2 Press REPEAT A-B again at your chosen
end point.
¡ A-B appears briefly on the TV screen, and the
repeat sequence begins.
3 To exit the sequence, press REPEAT A-B.
CD
DVD-V
Notes
¡The repeat A-B section can only be set within the
current title (for DVDs), or current track (for audio
CDs).
¡Repeat A-B is not available with some scenes in
DVD.
¡To cancel the A point which was set, press CLEAR.
¡Repeat A-B playback does not function during title,
chapter, track or all repeat playback.
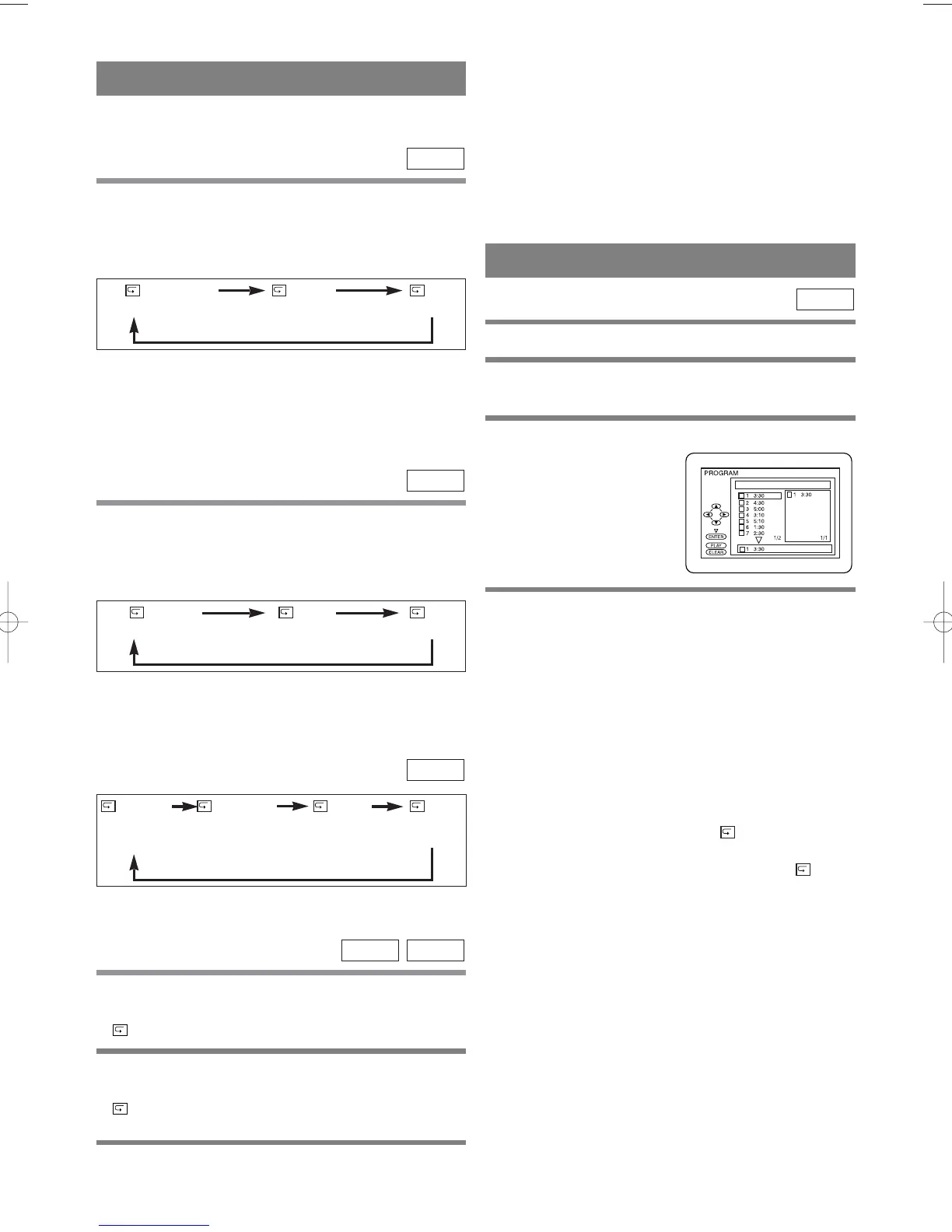
PROGRAM
You may determine the order in which tracks will play.
1 In stop mode, press MODE.
¡The PROGRAM screen will appear.
2 Press or to select a track, then press
ENTER.
¡Press CLEAR to erase the
most recently entered pro-
gram.
3 Press PLAY to play the programmed tracks.
Notes
¡While the program is being played back, the STOP
works as follows.
¡Press STOP once and then PLAY again, playback
will restart from the point where STOP was pressed.
(Program continued)
¡Press STOP twice and then PLAY again, playback
will restart from the track in the usual way. (Program
cleared)
¡Up to 99 programs can be entered.
¡If you like to repeat the current track in the program,
press REPEAT repeatedly until TRACK appears
during playback. If you like to repeat the entire pro-
gram press REPEAT repeatedly until ALL
appears during playback.
CD
CD [AUDIO] TOTAL 0:03:30
T
T
T
T
T
T
T
T
T
MP3
TRACK ALL OFF
(current track
repeat)
(
entire disc
repeat)
(repeat
off)
GROUP
(current group
repeat)
H94A3UD.QX3 03.8.20 11:43 AM Page 25

Table of Contents

Related product manuals