EasyManua.ls Logo

SystemAir K EC Series

SystemAir K EC Series
54 pages
To Next Page IconTo Next Page
To Next Page IconTo Next Page
To Previous Page IconTo Previous Page
To Previous Page IconTo Previous Page
Loading...
5
206268 Systemair AB
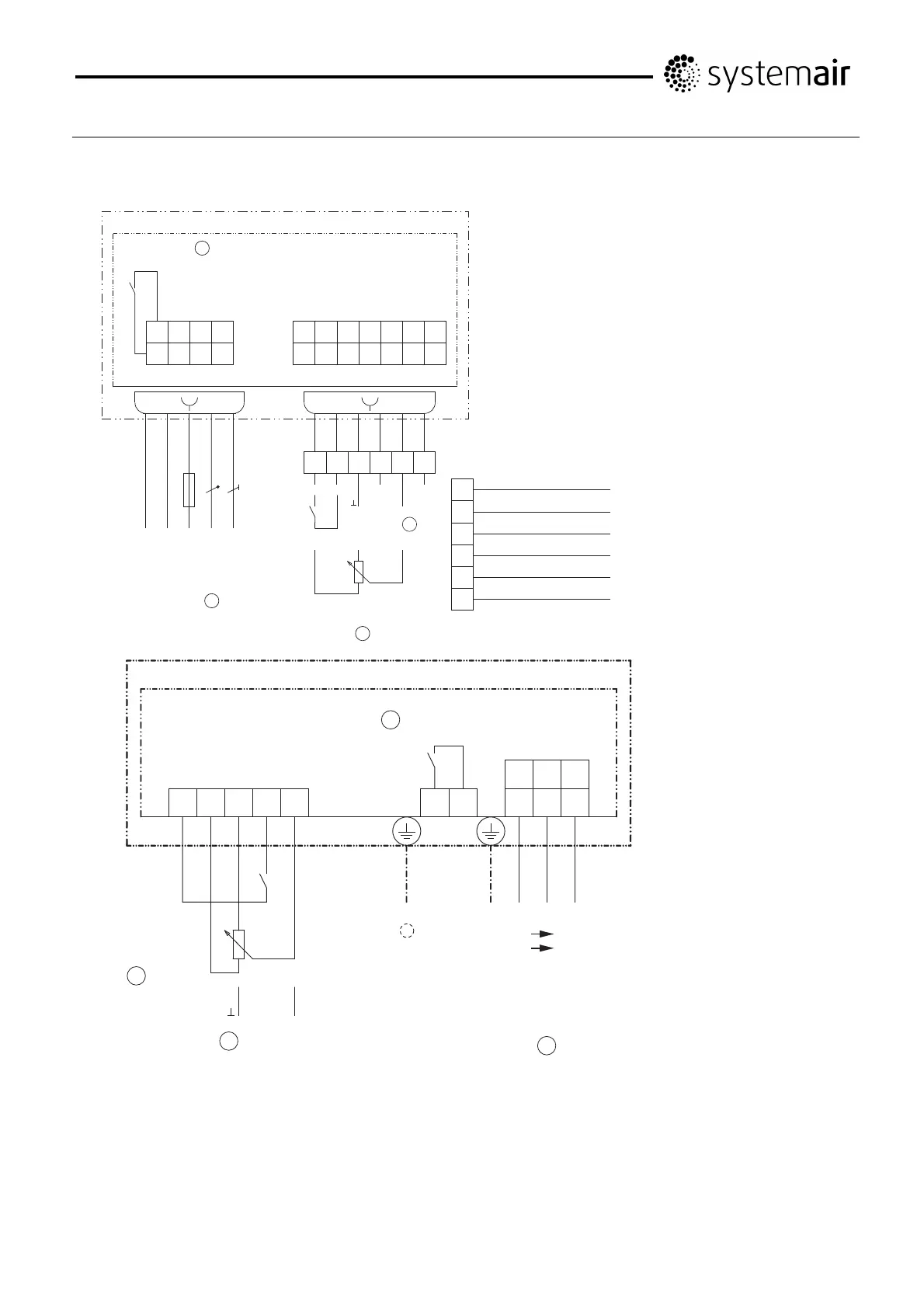
KD EC:
For KD-EC 315E, 355E, 400E
Motor size B (type: _ _ _ _ _-_ I _.B _._ _ _ _)
ECblue Basic
(_ _ _ _ _-_I_.B_._ _ _ _)
N
L1
PE
Netz
Line
1 ~ 200...277 V
50/60 Hz
10 kΩ
+
1
Internal speed setting
3
GNYE
BU
BN
RD
BU
GY
Kontaktbelastung
Contact rating
max. AC 250 V 2 A
5
YE
WH
GN
11 14
Eingang
Input
0...10 V
K1
4
11 - L1 N
14 - - PE
D1 Digital In 1
A2 GND 10V - - - -
E1 D1 A1 - - - -
10V D1GNDA2E1A1
RD
10 V DC Out (I
max
= 10 mA)
GN
BU
GND
GY
A2 Operation Out OC
YE
E1 Analog In 1
WH
A1 Status Out OC
10V
D1
GND
A2
E1
A1
WH
WH
11
For KD-EC 400D, 450D, 500D
24V 10V GND D1 E1 11 14
DC Out
(I
max
= 70 mA)
DC Out
(I
max
= 10 mA)
Digital In 1
Analog In 1
L3/NL2L1PE
L1
L2 L3
PE
L1
N
ECblue Basic
(_ _ _ _ _-_I_.D_._ _ _ _), (_ _ _ _ _-_I_.G_._ _ _ _)
K1
Kontaktbelastung
Contact rating
max. AC 250 V 2 A
Netzspannung Leistungsschild
Line voltage Rating-plate
Input
0...10 V
+
Internal speed setting
3
4
2
10 kΩ
3 ~ Typ nur in Sonderausführung
für IT-System geeignet
3 ~ type only in special version
suitable for IT-System
1
Line voltage 1 ~ 200...277 V, 50/60 Hz
External speed setting
Input 0...10 V
Contact rating max. AC 250 V 2 A
Relay output (K1)
An external fault indicator is available over the potential-
free contact of the built-in relays
(max. contact rating Technical data and connection
diagram).
For operation the relay is energized, connections “11”
and “14” are bridged. For fault the relay is de-energized
(Diagnostics/faults).
When switching off via enable (D1 = Digital In 1), the
relay remains energized.
Line voltage
rating plate (3 ~ type only in special version suitable for IT-System)
Contact rating max. AC 250 V 2 A
External speed setting
Input 0...10 V

Other manuals for SystemAir K EC Series

Related product manuals