EasyManua.ls Logo

Taco PC702 - Switching Relay Instruction Sheets; SR501 Switching Relay

Default Icon
104 pages
Print Icon
To Next Page IconTo Next Page
To Next Page IconTo Next Page
To Previous Page IconTo Previous Page
To Previous Page IconTo Previous Page
Loading...
85
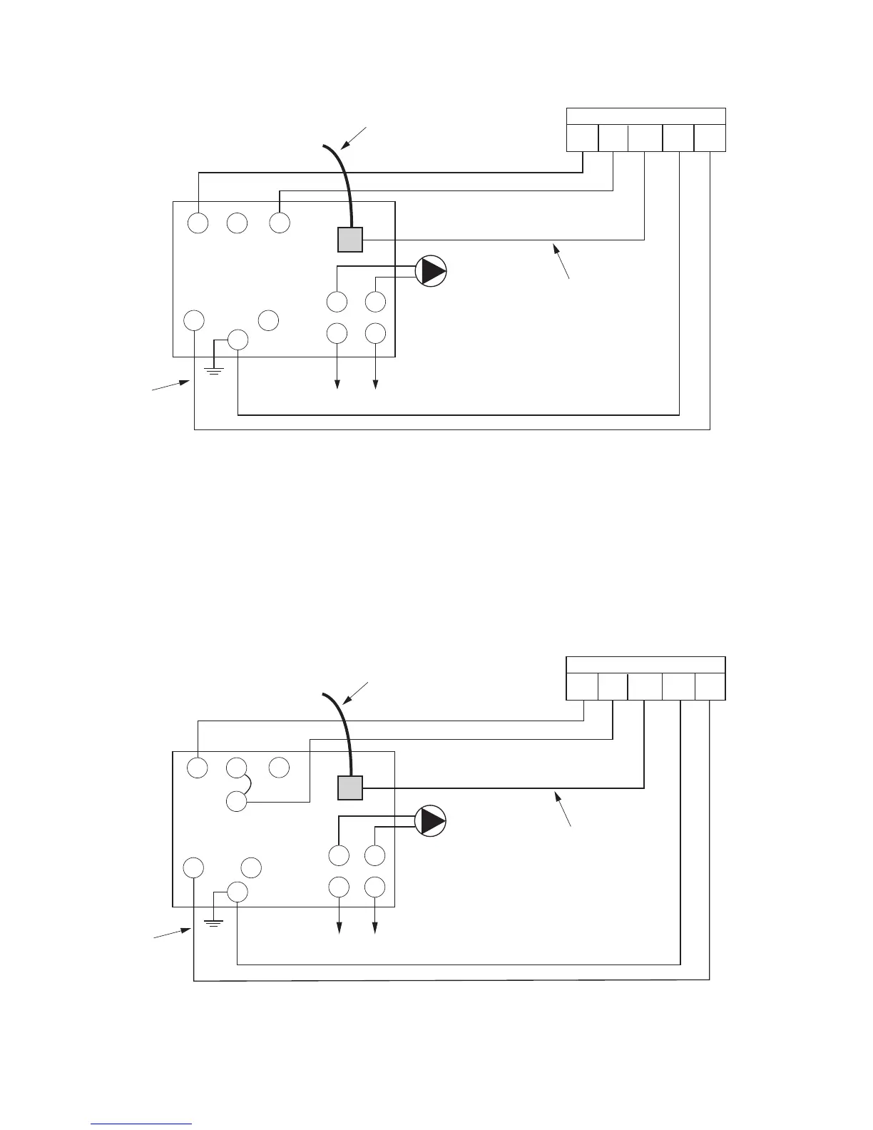
Wiring for Boilers with Honeywell Aquastat Model L8124E or Equivalent
TV T
Z
L1
(HOT)
L2
(NEUTRAL)
CIRCULATOR
ON BOILER
(IF ATTACHED)
L1
C2
L2
120 VAC
INPUT
C1
B1 B2
TACO LTR0243T-1
YELREDWH YELGRN
HONEYWELL
L8124E
G
FACTORY WIRING
(unplug from B1 terminal)
MALE
CONNECTOR
FEMALE
CONNECTOR
NOTE: The green wire must be connected to a ground source
electrically common to the boiler ground.
Wiring for Boilers with Honeywell Aquastat Model L8148E or Equivalent
TV W
T
L1
(HOT)
L2
(NEUTRAL)
CIRCULATOR
ON BOILER
(IF ATTACHED)
L1
C2
L2
120 VAC
INPUT
C1
B1 B2
Z
TACO LTR0243T-1
YELREDWH YELGRN
G
FACTORY WIRING
(unplug from B1 terminal)
MALE
CONNECTOR
HONEYWELL
L8148E
FEMALE
CONNECTOR
NOTE: The green wire must be connected to a ground source
electrically common to the boiler
g
round.

Table of Contents

Related product manuals