EasyManua.ls Logo

Taco ZVC405

Default Icon
104 pages
To Next Page IconTo Next Page
To Next Page IconTo Next Page
To Previous Page IconTo Previous Page
To Previous Page IconTo Previous Page
Loading...
84
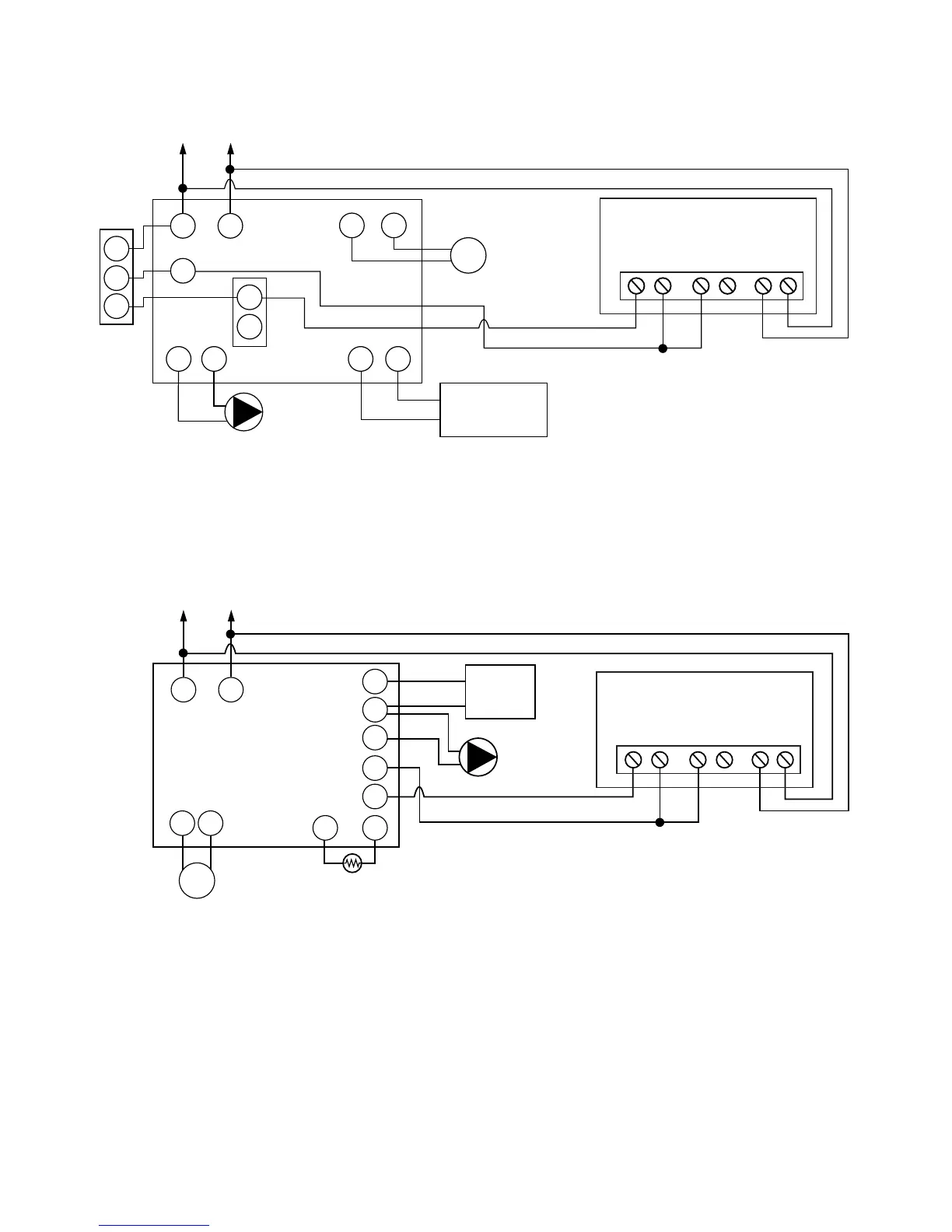
Aquastat Wiring
LINE VOLTAGE
OIL BURNER RELAY
OR GAS VALVE
CIRCULATOR
ON BOILER
(IF ATTACHED)
C1
B2
B1
HONEYWELL L8148A OR EQUAL
C2
3
L1 L2
T T
L1
(HOT)
L2
(NEUTRAL)
120 VAC
INPUT
T
THERMOSTAT
(IF INDEPENDENT ZONE)
R
W
B
B
R
L6006
LOW
LIMIT
CONTROLER
B2
TACO
SWITCHING
RELAY
ZC ZR N HXX
END SWITCH
L1 L2
B2
C2
B1
L1
(HOT)
L2
(NEUTRAL)
OIL BURNER
AND
IGNITION
CIRCULATOR
ON BOILER
(IF ATTACHED)
T T
FF
HONEYWELL L8182D OR EQUAL
120 VAC
INPUT
ZC
ZR
C1
CAD CELL
T
THERMOSTAT
(IF INDEPENDENT
ZONE)
TACO
SWITCHING
RELAY
ZC ZR N HXX
END SWITCH

Table of Contents

Related product manuals