EasyManua.ls Logo

tau speed 2 - Considerations Prior to Installation

tau speed 2
16 pages
Print Icon
To Next Page IconTo Next Page
To Next Page IconTo Next Page
To Previous Page IconTo Previous Page
To Previous Page IconTo Previous Page
Loading...
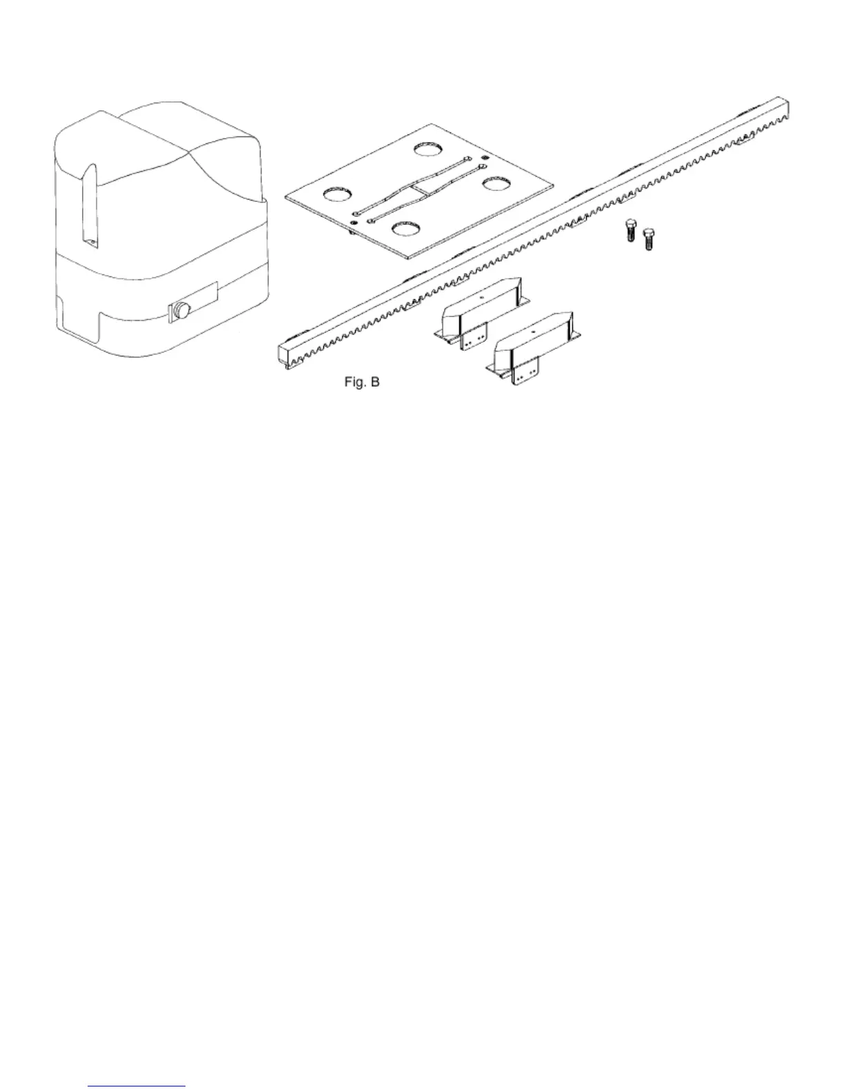
TECHNICAL FEATURES OF THE B2 SERIES
Art.P 400CNR Nylon rack;
Art.P-400CPS Foundation counter plate complete with screws
Art.P-350... Geared motor mod. Speed 2 - 5 - 8 including:
Art.S-350F300140 nr. 2 end limit-sliding blocks (only for SPEED 5-8)
MATERIALES PARA LAINSTALACION
Art.P 400CNR Cremallera de Nylon;
Art.P-400CPS Contraplaca de Cimentación con Tornillos;
Art.P-350.... Motorreductor Serie Speed 2 - 5 - 8. Consta de:
Art.S-350F300140 Dos excéntricas (o patines) de tope (solo para SPEED 5-8)
CONSIDERATIONS PRIOR TO INSTALLATION
CONSIDERACIONES PRELIMINARES A LA INSTALACION
Before you start installing check that:
• The gate wheels have been mounted to render the gate firm, that they are in god conditions and efficient;
• The sliding raid is free, straight and clean along its length and that there are stop pads at the ends;
• the top guide is in axis with the rail, that it is lubricated and gives the gate about 1 mm play.
Antes de llevar a cabo la instalación controlar que:
• Las ruedas de la verja hayan sido montadas de manera que la verja tenga estabilidad, se encuentren en buen estado y sean
eficientes;
• El carril de deslizamiento esté libre, recto y limpio en toda su longitud y que tenga los topes de parada en las extremidades;
• La guía superior esté en eje con el carril, esté lubrificada y permita un juego de aproximadamente 1 mm a la hoja.

Other manuals for tau speed 2

Related product manuals