EasyManua.ls Logo

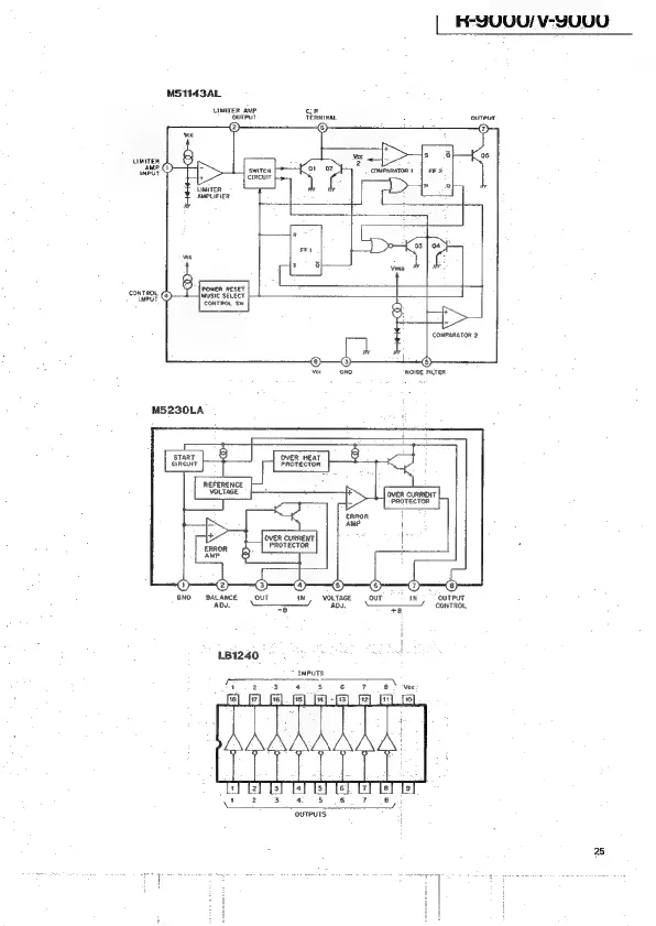
Teac Esoteric R-9000 - M51143 AL IC Block Diagram; M5230 LA IC Block Diagram; LB1240 IC Block Diagram

Teac Esoteric R-9000
58 pages
Print Icon
To Next Page IconTo Next Page
To Next Page IconTo Next Page
To Previous Page IconTo Previous Page
To Previous Page IconTo Previous Page
Loading...
|
K-YUUU/
V-YUUU
MS1143AL
LIMITER
AMP
OUTPUT
oR
TERMINAL
a
ourruT
UMITER
AMP
uate
switcH
crRcuiT
MITER
AMPLIFIER
POWER
RESET
MUSIC
SELECT
CONTROL
SW
CONTROL
INPUT
COMPARATOR
2
vec
GND
NOISE
FILTER
M5230LA
mar
18
|
CIRCUIT
REFERENCE
VOLTAGE
~
OUTPUT
CONTROL,

Related product manuals