EasyManua.ls Logo

Teac LP-R500 - Funciones de la Unidad y del Mando a Distancia

Teac LP-R500
96 pages
Print Icon
To Next Page IconTo Next Page
To Next Page IconTo Next Page
To Previous Page IconTo Previous Page
To Previous Page IconTo Previous Page
Loading...
70
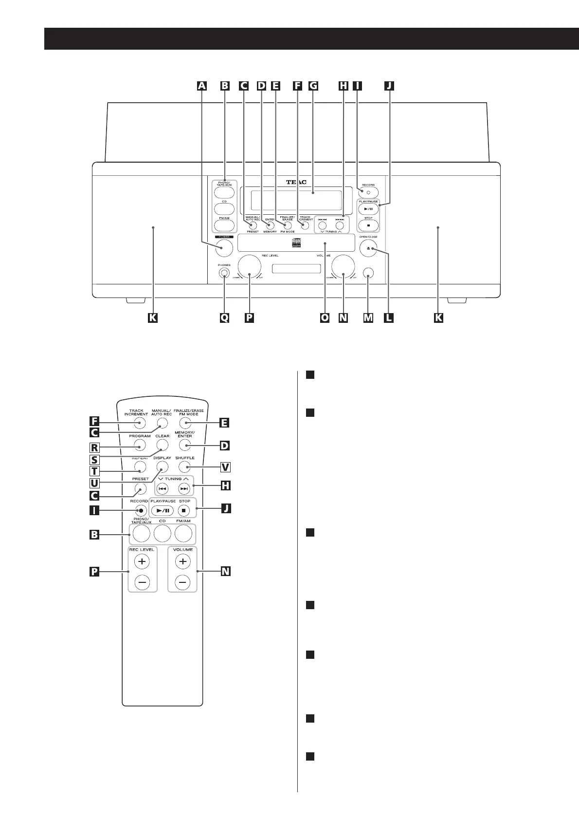
Funciones de la unidad y del mando a distancia
A
POWER
Pulse este botón para encender o apagar la unidad.
B
PHONO/TAPE/AUX, CD, FM/AM
Pulse el botón PHONO/TAPE/AUX y seleccione PHONO para
reproducir un disco.
Pulse el botón PHONO/TAPE/AUX y seleccione TAPE para
reproducir una cinta.
Pulse el bon PHONO/TAPE/AUX y elija AUX para escuchar la
fuente externa que esté conectada en las entradas AUX IN.
Pulse el botón CD para reproducir un CD.
Pulse el botón FM/AM para escuchar la radio.
C
MANUAL/AUTO REC, PRESET
Utilice este bon para seleccionar el modo de asignación de
números de pistas.
En el modo de sintonizador de radio (FM/AM), utilice este botón
para seleccionar una emisora prefijada.
D
ENTER, MEMORY
Utilice este botón para iniciar la finalización y borrado.
Utilícelo también para grabar (prefijar) las emisoras.
E
FINALIZE/ERASE, FM MODE
Utilice este botón para finalizar un disco CD-R/CD-RW.
Utilice este botón para borrar o desfinalizar un disco CD-RW.
Utilice este botón para seleccionar el modo de FM.
F
TRACK INCREMENT
Durante la grabación, utilice este botón para dividir las pistas.
G
Pantalla

Table of Contents