EasyManua.ls Logo

Teagle Tomahawk 8080S - Twin Chute Housing

Teagle Tomahawk 8080S
40 pages
Print Icon
To Next Page IconTo Next Page
To Next Page IconTo Next Page
To Previous Page IconTo Previous Page
To Previous Page IconTo Previous Page
Loading...
22
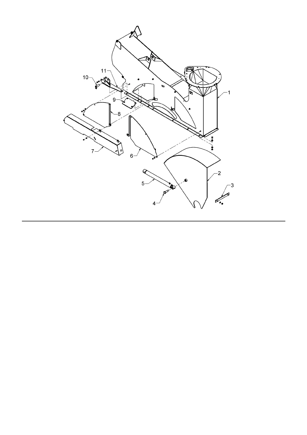
Ref Description T8080/T9090 Qty Associated Components Part No. Qty
Kit complete SC4025
1 Housing top SC4026 1 Setscrew M12 x 25 FAS2677P 4
Setscrew M12 x 30 FAS2678P 4
Plain Washer M12 FAS2345P 14
Locknut M12 FAS2334 8
Setscrew M10 x 25 FAS2654P 2
Plain washer M10 FAS2344P 4
Locknut M10 FAS2333 2
2 Segment SC4024 1
3 Segment stop SC4053 1 Washer M10 FAS2344P 2
Locknut M10 FAS2333 2
4 Pivot bolt – segment SC3476 1
5 Segment ram CYL1205 1 Grease nipple ¼” BSF BRG5004 2
6 Cover plate – L.H. SC4027 1 Plain washer M8 FAS2343P 4
Locknut M8 FAS2332 4
7 Ram cover plate SC4029 1 Setscrew M8 x 20 FAS2627P 1
Plain washer M8 FAS2343P 2
Locknut M8 FAS2332 1
8 Cover plate – R.H. SC4028 1 Plain washer M8 FAS2343P 4
Locknut M8 FAS2332 4
9 Hose carrier mounting SC3628 1
10 Ram pivot pin SC3457 1 Setscrew M8 x 20 FAS2627P 1
Spring washer M8 FAS2353P 1
11 Ram mounting bracket SC4051 1
All other components as listed for the Right Hand Chute / Horizontal Swivel Chute and Housings
TWIN CHUTE HOUSING

Related product manuals