EasyManua.ls Logo

Teagle Tomahawk 8080S - Body

Teagle Tomahawk 8080S
40 pages
Print Icon
To Next Page IconTo Next Page
To Next Page IconTo Next Page
To Previous Page IconTo Previous Page
To Previous Page IconTo Previous Page
Loading...
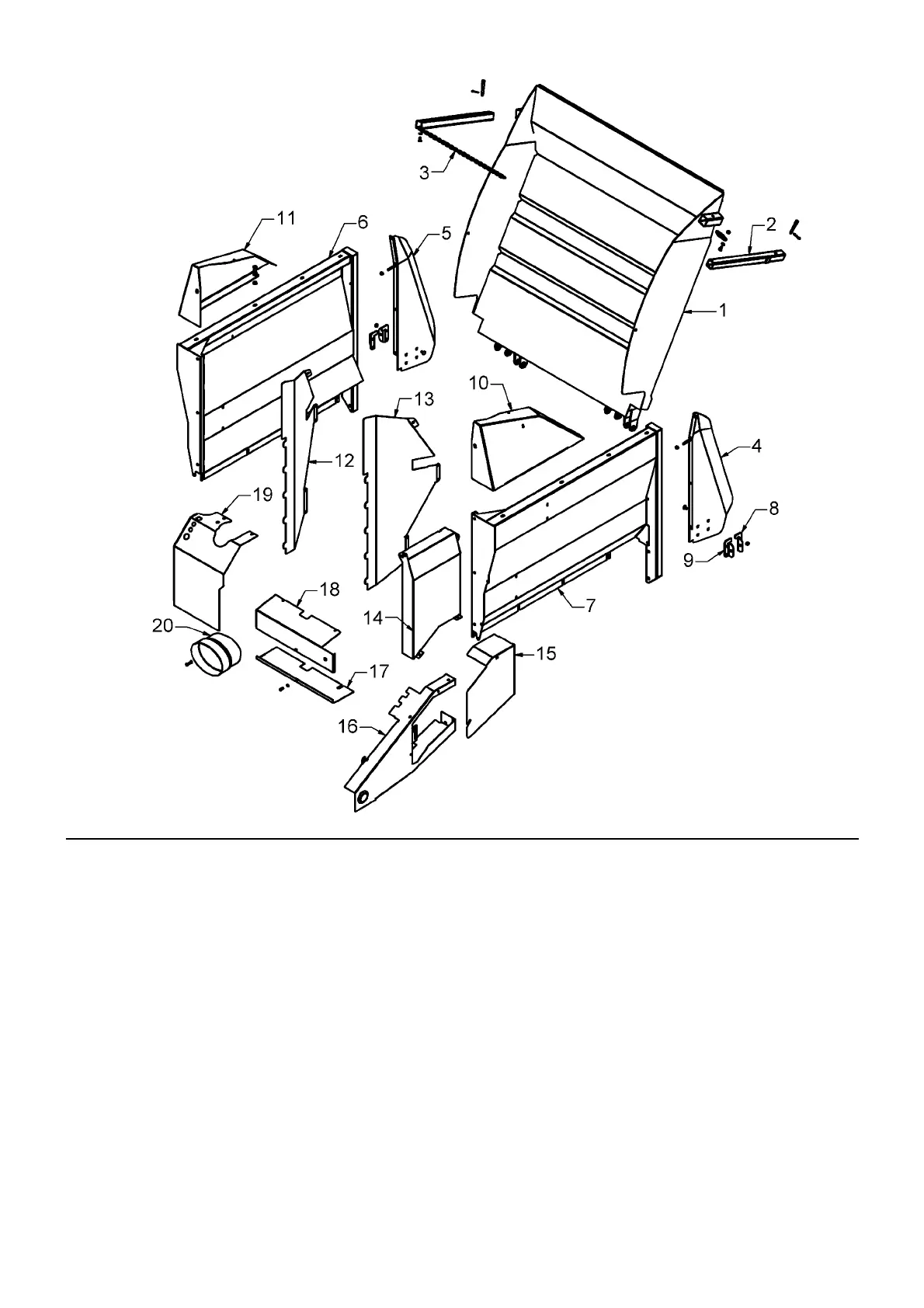
Ref Description 8080 9090 Qty Associated Components Part No. 8080 9090
1 Tailgate SC3661 SC3661 1 Pivot pin SC3615 2 2
Spring tension pin 8 x 40 FAS4131 4 4
2 Tailgate post SC3068 SC3068 2 Headed pin FAS6267P 2 2
R pin 3mm FAS6003 2 2
3 Chain SC3192 SC3192 1 Setscrew M10 x 20 FAS2652P 2 2
Locknut M10 FAS2333 2 2
Washer M10 FAS2344P 2 2
Chain retainer SC3206 1 1
4 Guide plate LH SC3172 SC3172 1 Bolt M10 x 70 FAS9663P 4 4
Locknut M10 FAS2333 4 4
5 Guide plate RH SC3173 SC3173 1 Bolt M10 x 70 FAS9663P 4 4
Locknut M10 FAS2333 4 4
6 Rear body panel RH SC3165 SC3814 1 Cup square bolt M12 x 25 FAS9282P 4 6
Washer M12 FAS2345P 4 6
Locknut M12 FAS2334 4 6
Bolt M16 x 90 HT (8.8) FAS9713P 2 2
Washer M16 FAS2346P 4 4
Locknut M16 FAS2335 2 2
30
BODY

Related product manuals