EasyManua.ls Logo

Technics SH-DJ1200 - Packaging

Technics SH-DJ1200
35 pages
Print Icon
To Next Page IconTo Next Page
To Next Page IconTo Next Page
To Previous Page IconTo Previous Page
To Previous Page IconTo Previous Page
Loading...
sH-DJr2(x)
r
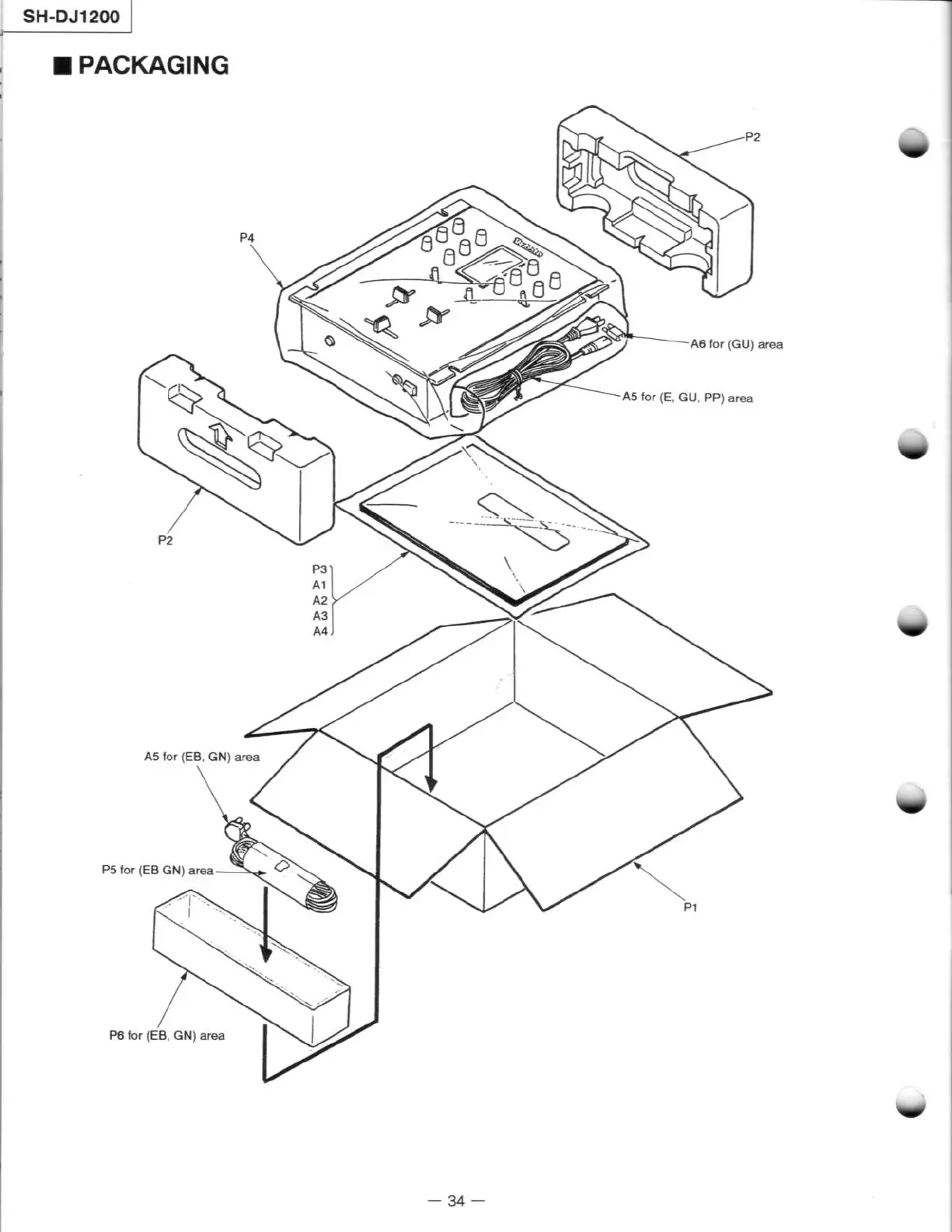
PACKAGING
t
A5lor (E.
cU. PP)
aea
Y
\)
As lor
(EB.
GN)
area
P5lor
€A
GN) a€a
Fd lor
(EB.
GN) a@
v

Other manuals for Technics SH-DJ1200

Related product manuals