EasyManua.ls Logo

TECNA PROVASET 2P - PROVASET 2 P Pneumatic Circuit Diagram; Pneumatic Circuit Components and Operation

TECNA PROVASET 2P
36 pages
Print Icon
To Next Page IconTo Next Page
To Next Page IconTo Next Page
To Previous Page IconTo Previous Page
To Previous Page IconTo Previous Page
Loading...
PROVASET 2P code 2P2B00 - 2P6B00 - Instruction manual
rev. 14/02/2013
page 11
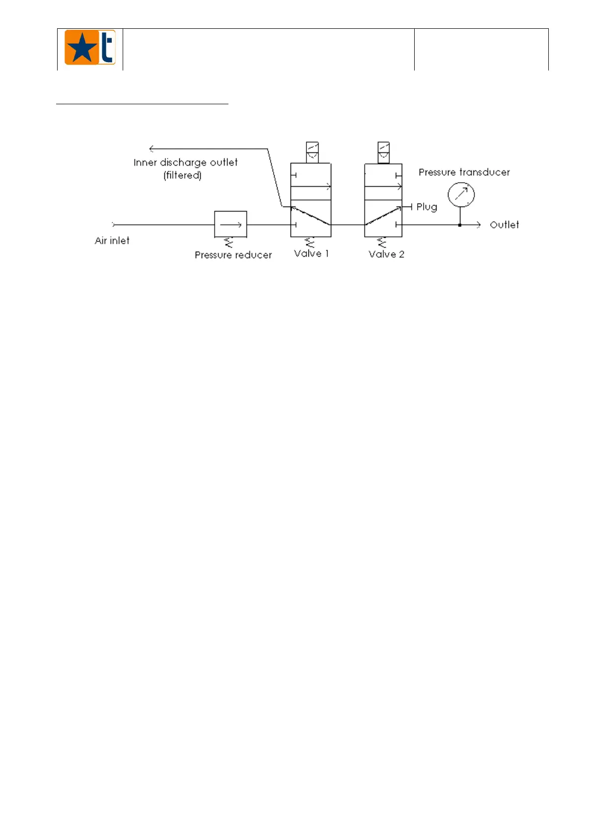
3 PNEUMATIC DIAGRAM
PROVASET
2P - Pneumatic diagram
PICTURE 3
The pneumatic diagram of the device is simple, but effective and safe.
It is made up of:
A pressure reducer (see point 6, par. 2.2)
Two 3/2-way N.C. solenoid valves: Both valves guarantee a tight seal and can be easily
inspected for maintenance and cleaning purposes.
A pressure transducer: It measures the testing pressure.
Both valves 1 and 2 are opened (activated) only during the filling and are closed
(deactivated) during the settling and the pressure decay measurement.
In this way, the piece being tested is connected to the pressure reducer (inlet air) only during
the filling, while - during the settling and the measurement - the piece being tested is
completely isolated from the inlet air, because the closed valve 2 is actually connected to
the discharge outlet.
A possible blow-by or failure of valve 2 during the test can therefore only cause a pressure
loss in the piece being tested and not a pressure increase: The possibility that an error of the
pneumatic circuit can hide a pressure leak of a piece to be rejected is therefore excluded.

Related product manuals