EasyManua.ls Logo

TECO JSDAP-30A - Page 146

TECO JSDAP-30A
255 pages
Print Icon
To Next Page IconTo Next Page
To Next Page IconTo Next Page
To Previous Page IconTo Previous Page
To Previous Page IconTo Previous Page
Loading...
5-60
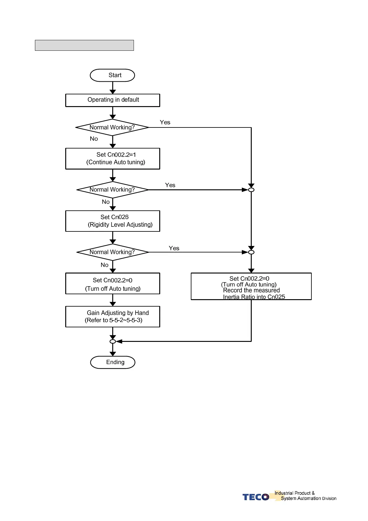
Process for Auto tuning
The following diagram shows the process for Auto tuning.
Note: After Auto tuning is complete Set 0 in Cn002.2, otherwise it will not record the present
measured Load Inertia Ratio.
If the power is cut off during Auto tuning then when the power is established, Servo controller
will use the previously recorded setting of Load Inertia Ratio which is stored in parameter
Cn025.

Table of Contents

Related product manuals