EasyManua.ls Logo

Teka IB 6415 - Safety Warnings

Teka IB 6415
Print Icon
To Next Page IconTo Next Page
To Next Page IconTo Next Page
To Previous Page IconTo Previous Page
To Previous Page IconTo Previous Page
Loading...
EN
18
Safety warnings:
If the ceramic glass
breaks or cracks,
immediately unplug
the hob to avoid
electric shocks.
This appliance is
not designed to work
with an external timer
(not built into the
appliance) or a
separate remote
control system.
Do not steam clean
this device.
The device and its
accessible parts may
heat up during
operation. Avoid
touching the heating
elements. Children

old must stay away
from the hob unless
they are permanently
supervised.
This device may
solely be used by

older, people with
impaired physical,
sensory or mental
abilities, or those who
are lack of experience
and knowledge, ONLY
when supervised or if
they have been given
adequate instruction
on the use of the
device and
understand the
dangers its use
involves. User
cleaning and
maintenance may not
be done by
unsupervised
children.
Children must not
play with the device.
Precaution. It is
dangerous to cook
with fat or oil without
being present, as

Never try to extinguish

this event disconnect
the device and cover

a plate or a blanket.
Do not put any
object on the cooking
areas of the hob.
Prevent a possible

“If the mains cord
is damaged, should
be replaced by the
manufacturer or its
after sales service”
CAUTION: Use
only cooktop
protectors
appropriately
designed by the
household
manufacturer or the
protectors already
used in this appliance.
The use of
inappropriate
protectors could
cause accidents.
Installation
Emplacement with cutlery drawer
   
    
    
  




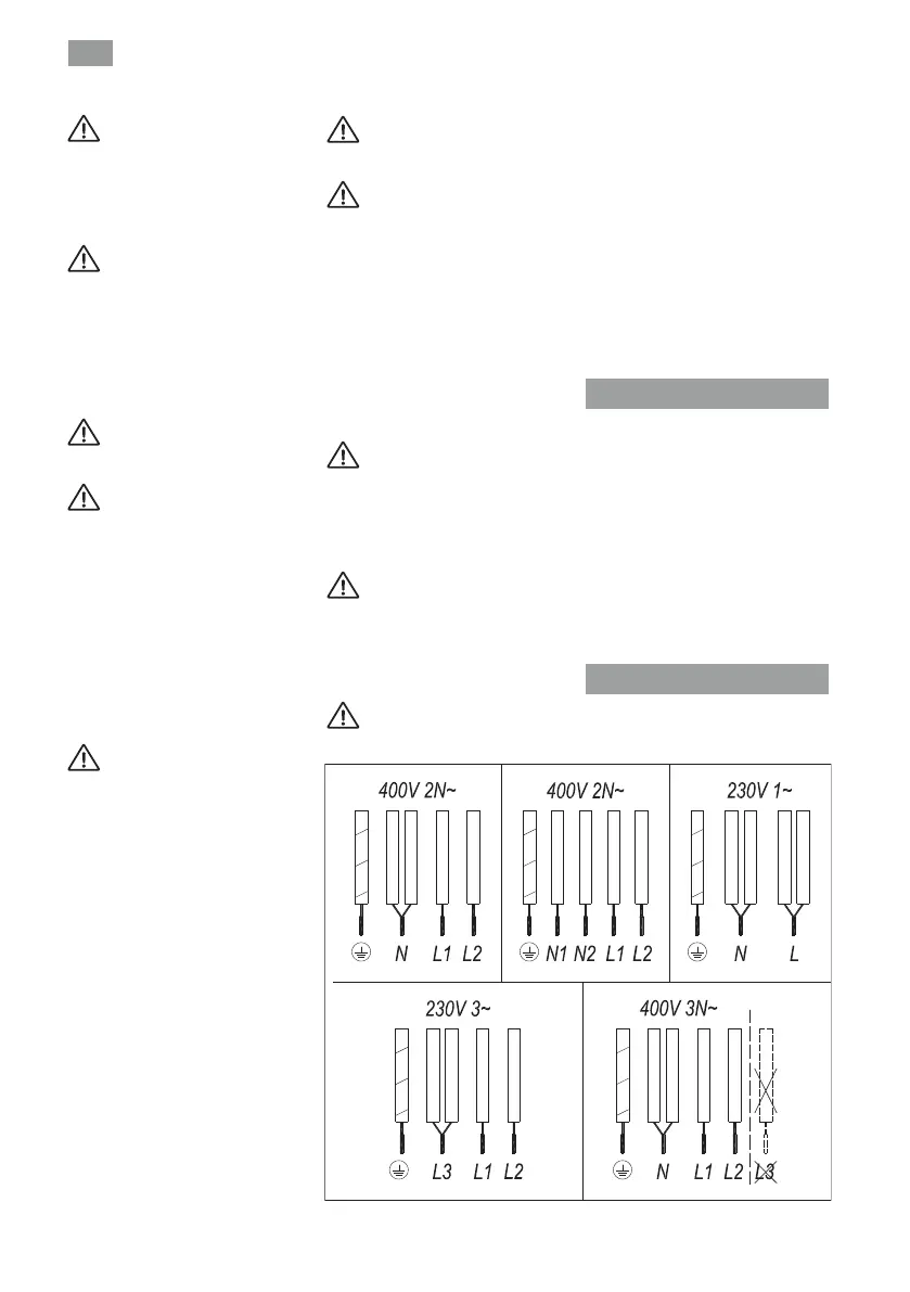
Electrical connection
    
green-yellow
blue
brown
grey
black
green-yellow
blue
brown
grey
black
green-yellow
blue
brown
grey
black
green-yellow
blue
brown
grey
black
green-yellow
blue
brown
grey
black
g. 1
DO NOT USE L3

Related product manuals